A1
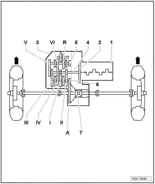
| Transmission layout |
| Identification |
| -Arrows- point in direction of travel |

| 1 - | Engine |
| 2 - | Clutch |
| 3 - | Manual gearbox |
| 4 - | Input shaft |
| 5 - | Output shaft for 5th/6th and reverse gear (output shaft II) |
| 6 - | Output shaft for 1st-4th gear (output shaft I) |
| 7 - | Differential |
| Ratio |
| -Arrows- point in direction of travel |

| I - | 1st gear |
| II - | 2nd gear |
| III - | 3rd gear |
| IV - | 4th gear |
| V - | 5th gear |
| VI - | 6th gear |
| R - | Reverse gear |
| A - | Final drive |
