audi Workshop Repair Guides

Audi Workshop Service and Repair Manuals

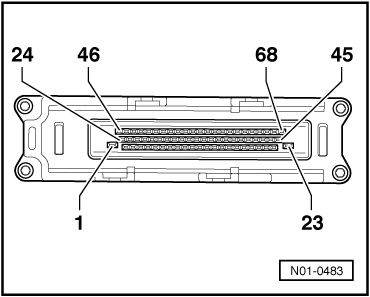
Multi-pin connector (68-pin) for control unit -J217- (sockets on V.A.G 1598/18) > < End output
Automatic gearbox 09A, Self-diagnosis
Electrical check
Electrical check
 
W37-0010

Special tools and workshop equipment required

  • ◆ V.A.G 1526 A Hand multimeter
  • ◆ V.A.G 1594 A Adapter set
  • ◆ V.A.G 1598/18 Test box

Additional information required

  • ◆ Workshop Manual Audi A3 1997 ä, Automatic gearbox 09A
  • ◆ Binder: "Current flow diagrams, Electrical fault finding and Fitting locations"

Test requirements:

 
N37-0355
  • ● Battery voltage in order.
  • ● Vehicle voltage supply in order.
  • ● Fuses in main fuse box OK.
  • ● Fuses 7, 11, 13, 15 and 31 OK.
  • ● Check earth connections for gearbox:

→ The gearbox control unit (arrow) is located in the plenum chamber.

  • ‒ Check earth connections for corrosion and poor contact; repair if necessary.
 
N37-0139
  • ‒ Earth connection point is located under battery.
  • ‒ Check battery earth strap and earth strap between battery and gearbox.
  • ‒ Switch ignition off, release multi-pin connector and pull off control unit.
  • ‒ → Fit test box V.A.G 1598/18 onto multi-pin connector (1) and lock, in direction of arrow (2).

Using test box V.A.G 1598/18 the wiring can be checked according to current flow diagram.

  • ‒ Select the correct measuring range on tester before connecting the test leads. Otherwise the electronic components can be seriously damaged.
  • ◆ Use hand multimeter V.A.G 1526 A with test leads from V.A.G 1594 for testing.
  • ◆ The specified values are valid for an ambient temperature from 0 °C...40 °C.
  • ◆ If the readings obtained differ from the specified values, determine fault on the basis of the current flow diagram.
  • ◆ If the readings obtained differ only slightly from the specified values, clean sockets and connectors of the testers and test leads and repeat test. Before replacing the particular components, test wiring and connections and, particularly if specified values are below 10 ω, repeat resistance measurement on component.
 
N01-0483

→ Socket assignment on control unit connector

Multi-pin connector (68-pin) for control unit -J217- (sockets on V.A.G 1598/18) > < End output