audi Workshop Repair Guides

Audi Workshop Service and Repair Manuals

Testing fuel tank breather system > < Testing vacuum system
Motronic Injection and Ignition System (4-cyl.) 08.97ä
Testing intake manifold change-over function
Testing intake manifold change-over valve

Fitting location .

Special tools, testers and auxiliary items

  • ◆ Hand multimeter V.A.G 1526 or V.A.G 1526 A
  • ◆ Diode test lamp V.A.G 1527
  • ◆ Adapter set V.A.G 1594
  • ◆ Test box V.A.G 1598/22
 
A24-0146

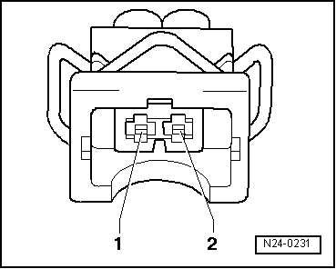
Electrical test of intake manifold change-over valve -N156

  • ‒ → Unplug connector -arrow- from intake manifold change-over valve -N156.
  • ‒ Measure resistance between valve contacts using V.A.G 1526.
  • Specification: 25...35ω
  • ‒ If the reading does not match the specification, renew intake manifold change-over valve -N156.

 
N24-0231

Testing power supply to intake manifold change-over valve -N156

  • ‒ → Unplug connector from intake manifold change-over valve -N156.

 
N24-0231
  • ‒ → Connect diode test lamp V.A.G 1527 between engine earth and contact 1 on connector using test leads from auxiliary cable set V.A.G. 1594.
  • ‒ Operate the starter briefly.
  • Specification: The diode test lamp should light up.

If the diode test lamp does not light up, carry out the following tests:

  • ‒ Test fuse for -N156.
  • ‒ Test for open circuit in wiring between fuse and contact 1 on connector for intake manifold change-over valve using current flow diagram.

=> Current flow diagrams, Electrical fault finding and Fitting locations binder

Specification: max. 1 ω.

  • ‒ Test fuel pump relay and activation
    .

Testing activation of intake manifold change-over valve

 
N24-0231
  • ‒ → Connect diode test lamp V.A.G 1527 between contacts 1 (positive) and 2 on connector for intake manifold change-over valve using test leads from auxiliary cable set V.A.G 1594.
  • ‒ Perform final control diagnosis . The diode test lamp should flash when the intake manifold change-over valve is activated.
  • ‒ If the diode test lamp does not flash or lights up continuously, connect test box V.A.G 1598/22 to wiring harness for engine control unit => Page 24-8.
  • ‒ If the diode test lamp lights up continuously, test for short circuit to earth in wiring between socket 64 on test box V.A.G 1598/22 and contact 2 on connector for intake manifold change-over valve.
 
A28-0022
  • ‒ If the diode test lamp does not flash, test for open circuit or short to positive in wiring between socket 64 on test box and contact 2 on connector for intake manifold change-over valve.

Specification: max. 1 ω.

  • ‒ Rectify any short circuits to earth or open circuits.
  • ‒ If no short circuits or open circuits are found, fit a new engine control unit => Page 24-10.

Testing fuel tank breather system > < Testing vacuum system