Audi Workshop Service and Repair Manuals
HOME
FEATURES
MENU
INDEX
ABOUT US
Machining valve seats >
< Renewing valve stem oil seals with cylinder head removed
A3 Mk2
Power unit
4-cylinder TDI engine (2.0 ltr. 4-valve common rail - generation II), mechanics
Engine cylinder head, valve gear
Valve gear
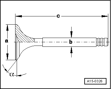
Valve dimensions
Valve dimensions
Valve dimensions
Note
Inlet and exhaust valves must not be machined. Only grinding-in is permitted.
Dimension
Inlet valve
Exhaust valve
Ø a
mm
28.10
26.00
Ø b
mm
5.975
5.965
c
mm
99.30
99.10
α
∠°
45
45
Power unit
4-cylinder TDI engine (2.0 ltr. 4-valve common rail - generation II), mechanics
Engine cylinder head, valve gear
Valve gear
Valve dimensions
Machining valve seats >
< Renewing valve stem oil seals with cylinder head removed