| A - Releasing gas by drilling |
| –
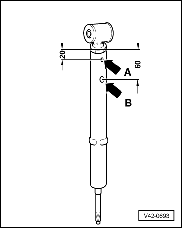
| Clamp gas-filled shock absorber vertically in vice, with piston rod pointing downwards. |

WARNING | Safety goggles must be worn when drilling. |
|
| –
| Drill a 3 mm Ø hole -arrow A- through outer tube of shock absorber. |

Note | Gas will escape during drilling. |
| –
| Continue drilling until inner tube is fully penetrated (approx. 25 mm deep). |
| –
| Drill a second 6 mm Ø hole -arrow B- through outer and inner tubes of shock absorber. |
| –
| Hold shock absorber over a drip tray and move piston rod up and down several times through entire stroke until no more fluid comes out. |
| B - Opening with pipe cutter |

WARNING | Safety goggles must be worn while drilling and cutting. |
|
| –
| Drill a 3 mm Ø hole through outer tube of shock absorber, or saw through side of tube. |

Note | Gas will escape when drilling or sawing. |
|
|
|