| The following work sequence is recommended to save time when the crown wheel and pinion shaft have to be adjusted: |
| t
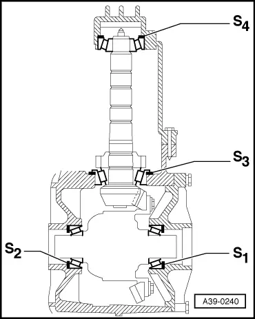
| Determine total shim thickness “Stotal” (S1 plus S2) for specified preload on tapered roller bearings for differential → . |
| t
| Determine total shim thickness “Stotal” (S3 plus S4) for specified preload on tapered roller bearings for pinion shaft → . |
| t
| Distribute total shim thickness “Stotal” (S3 plus S4) so that dimension from centre of crown wheel to end face of pinion corresponds to installation dimension “R” determined during production → . |
| t
| Distribute total shim thickness “Stotal” (S1 plus S2) so that specified backlash between crown wheel and pinion shaft is obtained → . |

Note
|
|
|