audi Workshop Repair Guides

Audi Workshop Service and Repair Manuals

Notes on removing and installing clutch master cylinder and slave cylinder > < Exploded view - pedal cluster (RHD vehicles)
Exploded view - clutch hydraulics
   
Exploded view - clutch hydraulics
1 - Brake fluid reservoir
2 - Supply hose
q   For clutch master cylinder
3 - Pipe/hose assembly
q   For plug-in connections on clutch master cylinder and slave cylinder
q   Disconnecting from clutch master cylinder and installing → Anchor
q   Disconnecting from clutch slave cylinder → Fig.
q   Refer to → Parts catalogue for correct version for LHD and RHD vehicles
4 - Grommet
5 - Mounting bracket
6 - Clutch pedal
7 - Clutch master cylinder
q   Removing and installing → Chapter
q   Do not remove clip -arrow A- or seal -arrow B-.
q   To remove pipe/hose assembly, pull out clip -arrow A-, but only as far as limit stop → Anchor.
8 - Hexagon socket head bolt, 20 Nm
9 - Retaining clip
q   Only renew when clutch master cylinder has been removed
q   Lever off to remove → Fig.
q   Push in to install → Fig.
10 - Gearbox
11 - Clutch slave cylinder
q   Do not operate clutch pedal after slave cylinder has been removed.
q   Removing and installing → Chapter
q   Bleed clutch slave cylinder after working on hydraulic clutch mechanism → Chapter
q   Disconnecting pipe/hose assembly → Fig.
q   Do not allow brake fluid to come into contact with gearbox.
12 - Bleeder valve
q   Tighten to 4.5 Nm
q   Follow correct procedure when bleeding → Chapter „Bleeding clutch system“
q   If bleeder valve has broken off, it can be removed with 3 mm Allen key
13 - Dust cap
14 - Clip
q   To remove pipe, pull out clip as far as limit stop → Fig.
15 - Bracket
q   For pipe/hose assembly
q   Attached to gearbox together with slave cylinder
16 - Hexagon socket head bolt, 25 Nm
q   Clutch slave cylinder to gearbox
q   Self-locking
q   Renew
17 - Retaining clip
18 - Seal
19 - Securing bolt
q   For brake fluid reservoir

   
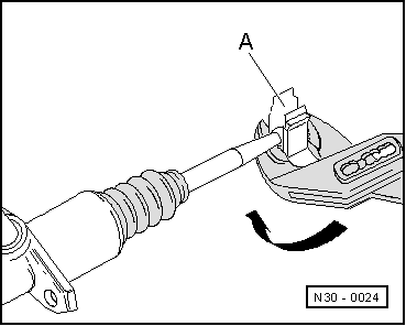
Levering retaining clip -A- off in direction of arrow
  N30-0024
Pressing master cylinder operating rod into retaining clip -A- (in direction of arrow).
  N30-0025
Disconnecting clutch slave cylinder from hose/pipe assembly
Removing
–  To remove hose/pipe assembly, use a screwdriver to lever off clip -A- as far as the stop. Only then can the hose/pipe assembly be pulled out.
Installing
–  Press retaining clip -A- in as far as it will go.
–  Insert pipe/hose assembly -B- in clutch slave cylinder and make sure that it engages audibly.
–  Pull on pipe/hose assembly to check it is secure.
  A30-0029

Notes on removing and installing clutch master cylinder and slave cylinder > < Exploded view - pedal cluster (RHD vehicles)