
WARNING | Before handling pyrotechnic components (e.g. plugging in the electrical connector) the mechanic must discharge static electricity by briefly touching the door striker plate, or similar. |
|

Note | t
| The rear side airbags (left and right) can be activated individually. |
| t
| There is one connector on each side beneath the seat bench (left and right). |
| –
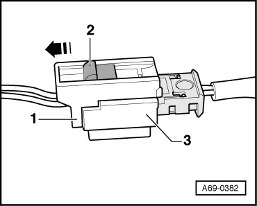
| Plug in connector -1- for side airbag. |

Note | t
| Make sure electrical connectors are fitted correctly (as far as stop) and engage audibly. |
| t
| Make sure that wiring is not trapped. |

WARNING | The battery must be connected with the ignition switched on. If pyrotechnic components (e.g. airbag or belt tensioner) are inexpertly repaired, this may result in unwanted triggering after connecting the battery. There must not be anyone in the vehicle while you are connecting the battery. |
|
| –
| Remove sticker indicating that side airbags have been deactivated from rear door frame. |
| –
| Remove any adhesive left on door frame with a suitable cleaning fluid. |
| –
| Perform programs for activating side airbags (rear) in „Guided Functions“ → Vehicle diagnostic tester. The appropriate adaption program has to be carried out. |
| –
| Fill in the registration card and return the card to the importer or regional sales centre for registration. Remove sheet 3 of the registration card from the vehicle wallet. |

Note | If the airbag warning lamp -K75- indicates a fault following installation, you must interrogate, erase and then re-interrogate the event memory → Vehicle diagnostic tester. |
|
|
|