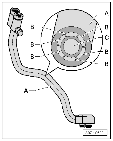
| In this refrigerant line, the hot refrigerant (liquid) flowing through the high-pressure side gives off energy to the cold refrigerant (gaseous or vaporous) flowing through the low-pressure side, thus enhancing the efficiency of the air conditioner. |

Note | This illustration shows a refrigerant line with an internal heat exchanger as fitted for example on the Audi A4 2008 > and the Audi A5 Coupé 2008 > → Air conditioning; Rep. gr.87 (vehicle-specific workshop manual). |
| A - | Refrigerant line with internal heat exchanger |
| B - | Channels in the refrigerant line in which the hot liquid refrigerant flows to the evaporator (high-pressure end of the refrigerant circuit). |
| C - | Channel in the refrigerant line in which the cold refrigerant gas or vapour flows to the air conditioner compressor (low-pressure end of the refrigerant circuit). |
|
|
|