A4 Mk3
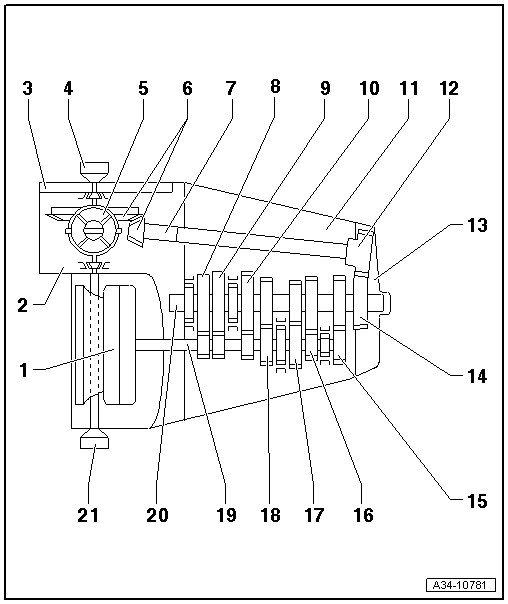
| General layout of gearbox |

| 1 - | Clutch module |
| q | Consists of pressure plate, clutch plate and dual-mass flywheel with flange for drive plate |
| 2 - | Gearbox housing |
| 3 - | Cover for final drive |
| 4 - | Flange shaft (right-side) |
| 5 - | Differential |
| q | With crown wheel |
| 6 - | Final drive gear set |
| q | Pinion shaft with crown wheel/ differential |
| 7 - | Pinion shaft |
| 8 - | Reverse gear |
| 9 - | 1st gear |
| 10 - | 2nd gear |
| 11 - | Gearbox cover |
| 12 - | Side shaft |
| q | With spur gear |
| 13 - | End cover |
| 14 - | Spur gear |
| q | Drive gear for side shaft (spur gearing) |
| 15 - | 4th gear |
| 16 - | 3rd gear |
| 17 - | 6th gear |
| 18 - | 5th gear |
| 19 - | Input shaft |
| 20 - | Output shaft |
| 21 - | Flange shaft (left-side) |
