| –
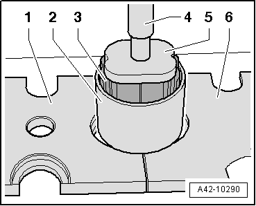
| Apply tools to front bonded rubber bush and wheel bearing housing as shown in illustration. |

Note | When positioning the wheel bearing housing on the sleeve -T40184/1-, make sure the rubber sleeve of the rear bonded rubber bush is not damaged / moved. |
| 2 - | Thrust plate -T40184/2-. |
| 3 - | Wheel bearing housing |
| 4 - | Sleeve -T40184/1- Side with groove must face wheel bearing housing. If bonded rubber bush has a „positioning lug“, this fits into groove on sleeve -T40184/1-. |
| –
| Press out front bonded rubber bush. |
|
|
|