audi Workshop Repair Guides

Audi Workshop Service and Repair Manuals

Removing and installing connection for external audio sourcesR199 (AUX IN) > < Connectors (AUX IN)
Removing and installing connection for external audio sourcesR199
Removing and installing connection for external audio sources -R199-
The connection for external audio sources -R199- is located in the glove box.
Special tools and workshop equipment required
   
t  Radio release tool -T10057-
  W00-1042
t  Fibre-optic conductor repair set -VAS 6223-
t  Protective cap for cable connector -VAS 6223/9-
–  Switch off all electrical equipment.
–  Remove ignition key.
Removing
–  Open glove box.
  W00-10202
–  Insert two radio release tools -T10057- into release slots on connection for external audio sources -R199- until they engage. Pointed ends of tool grips must face outwards.
–  Pull connection for external audio sources -R199- out of mounting frame.
–  Release and unplug all connectors at connection for external audio sources -R199-.
Versions with MOST bus
  A91-10955
–  Fit protective cap for cable connector -VAS 6223/9--1- onto MOST bus connector -2-.
All versions
–  Press release tabs on connection for external audio sources -R199- and remove radio release tool -T10057-.
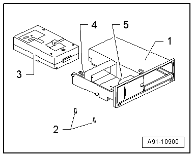
Removing internal control unit
  A97-0760
–  Remove bolts -2- (2 Nm) on underside.
–  Push tabs -4- and -5- downwards and upwards and slide control unit -3- out of frame -1- to rear.
Installing
–  Plug in all connectors.
–  Push connection for external audio sources -R199- into mounting frame until it engages.
Exploded view → Chapter
  A91-10900

Removing and installing connection for external audio sourcesR199 (AUX IN) > < Connectors (AUX IN)