audi Workshop Repair Guides

Audi Workshop Service and Repair Manuals

Removing and installing digital sound package control unitJ525 (CAN) > < Connectors for Bang & Olufsen sound system (CAN)
Connectors for Bang & Olufsen sound system (MMI)
Connectors for Bang & Olufsen sound system (MMI)
   
Digital sound package control unit -J525-
A - MOST bus
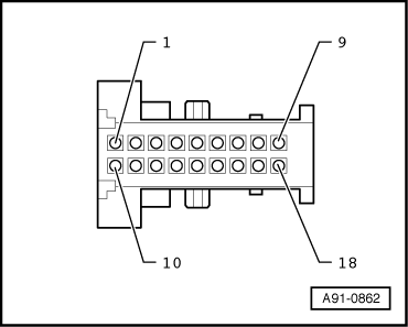
B - Multi-pin connector, 18-pin (T18b)
C - Multi-pin connector, 32-pin (T32h)
  Note
Contacts which are not listed are not used.
  A91-10006
A - MOST bus
1 - Input
2 - Output
  A91-11851
B - Multi-pin connector, 18-pin (T18b)
1 - Microphone input 1 (+) from microphone unit in front roof module -R164- (internal microphone -R74-)
2 - Microphone input 1 (screen earth) from microphone unit in front roof module -R164- (internal microphone -R74-)
3 - Microphone input 2 (+) from microphone unit in front roof module -R164- (voice command microphone -R206-) up to week 44/08
4 - NF (+) (low frequency) from pre-fitted components for mobile phone installation/Japan nav (up to week 44/08)
6 - NF in, right-side (low frequency) from connection for external audio sources -R199- (up to week 44/08)
7 - NF in, left-side (low frequency) from connection for external audio sources -R199- (up to week 44/08)
10 - Microphone input 1 (–) from microphone unit in front roof module -R164- (internal microphone -R74-)
11 - Microphone input 2 (screen earth) from microphone unit in front roof module -R164- (voice command microphone -R206-) up to week 44/08
12 - Microphone input 2 (–) from microphone unit in front roof module -R164- (voice command microphone -R206-) up to week 44/08
13 - NF (–) (low frequency) from pre-fitted components for mobile phone installation/Japan nav (up to week 44/08)
15 - NF in, earth, right-side (low frequency) from connection for external audio sources -R199- (up to week 44/08)
16 - NF in, earth, left-side (low frequency) from connection for external audio sources -R199- (up to week 44/08)
17 - Open circuit diagnostic lead
  A91-0862
C - Multi-pin connector, 32-pin (T32h)
1 - Terminal 30
2 - Terminal 31
3 - Rear left loudspeaker (+)
4 - Rear right loudspeaker (+)
5 - Centre mid-range and treble loudspeaker -R158- (+)
6 - Front left loudspeaker (+)
7 - Front right loudspeaker (+)
8 - Rear left mid-range loudspeaker -R105- (+)
9 - Rear right mid-range loudspeaker -R106- (+)
10 - Front right bass loudspeaker -R23- (+)
15 - Rear left loudspeaker (–)
16 - Rear right loudspeaker (–)
17 - Centre mid-range and treble loudspeaker -R158- (–)
18 - Front left loudspeaker (–)
19 - Front right loudspeaker (–)
20 - Rear left mid-range loudspeaker -R105- (–)
21 - Rear right mid-range loudspeaker -R106- (–)
22 - Front right bass loudspeaker -R23- (–)
23 - Front left bass loudspeaker -R21- (+)
25 - Subwoofer in rear shelf -R157- (+)
28 - Front left bass loudspeaker -R21- (–)
30 - Subwoofer in rear shelf -R157- (–)
  A91-0851

Removing and installing digital sound package control unitJ525 (CAN) > < Connectors for Bang & Olufsen sound system (CAN)