A4 Mk3
| Sound systems - layout |
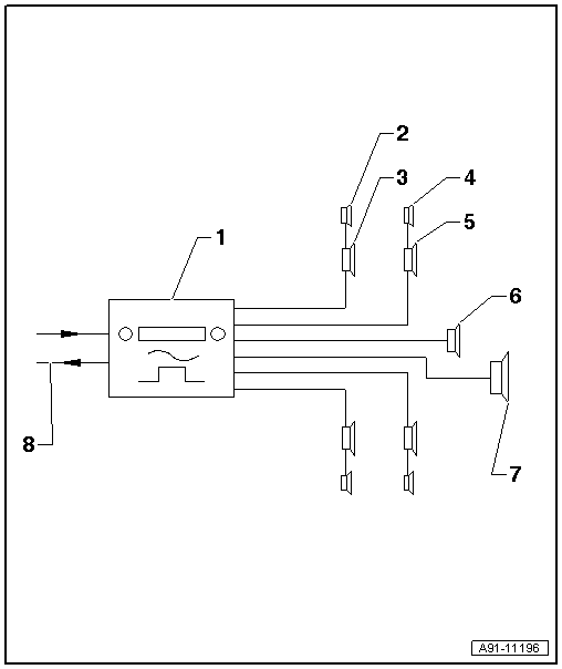
| Radio (CAN) sound system basic |

| 1 - | Radio -R- in dash panel |
| 2 - | Front left treble loudspeaker -R20- / front right treble loudspeaker -R22- in dash panel |
| 3 - | Front left mid-range and bass loudspeaker -R101- / front right mid-range and bass loudspeaker -R102- in front doors (bottom) |
| 4 - | CAN bus (infotainment) |
| Radio (CAN)/MMI (from week 45/08 onwards) sound system basic plus |

| 1 - | Radio -R- in dash panel |
| 2 - | Front left treble loudspeaker -R20- / front right treble loudspeaker -R22- in dash panel |
| 3 - | Front left mid-range and bass loudspeaker -R101- / front right mid-range and bass loudspeaker -R102- in front doors (bottom) |
| 4 - | Rear left treble loudspeaker -R14-/rear right treble loudspeaker -R16- in rear doors (top) |
| 5 - | Rear left mid-range and bass loudspeaker -R159- / rear right mid-range and bass loudspeaker -R160- in rear doors (bottom) |
| 6 - | CAN bus (infotainment) |
| MMI sound system basic plus (up to week 44/08) |

| 1 - | Digital sound package control unit -J525- behind luggage compartment side trim (left-side) |
| 2 - | Front left treble loudspeaker -R20- / front right treble loudspeaker -R22- in dash panel |
| 3 - | Front left mid-range and bass loudspeaker -R101- / front right mid-range and bass loudspeaker -R102- in front doors (bottom) |
| 4 - | Rear left treble loudspeaker -R14-/rear right treble loudspeaker -R16- in rear doors (top) |
| 5 - | Rear left mid-range and bass loudspeaker -R159- / rear right mid-range and bass loudspeaker -R160- in rear doors (bottom) |
| 6 - | MOST bus |
| Radio (CAN)/MMI (up to week 44/08) sound system Standard |

| 1 - | MOST bus |
| 2 - | Digital sound package control unit -J525- behind luggage compartment side trim (left-side) |
| 3 - | Front left treble loudspeaker -R20- / front right treble loudspeaker -R22- in dash panel |
| 4 - | Front left mid-range and bass loudspeaker -R101- / front right mid-range and bass loudspeaker -R102- in front doors (bottom) |
| 5 - | Rear left treble loudspeaker -R14-/rear right treble loudspeaker -R16- in rear doors (top) |
| 6 - | Rear left mid-range and bass loudspeaker -R159- / rear right mid-range and bass loudspeaker -R160- in rear doors (bottom) |
| 7 - | Centre mid-range and treble loudspeaker -R158- in dash panel (centre) |
| 8 - | Subwoofer in rear shelf -R157- (saloon) |
| - Subwoofer in rear shelf -R157- in spare wheel well (Avant) |
| 9 - | Microphone unit in front roof module -R164- (voice command microphone -R206-) in front interior light -W1- (MOST only) |
| 10 - | CAN bus (infotainment) |
| MMI sound system Standard (from week 45/08 onwards) |

| 1 - | Radio -R- behind luggage compartment side trim (left-side) |
| 2 - | Front left treble loudspeaker -R20- / front right treble loudspeaker -R22- in dash panel |
| 3 - | Front left mid-range and bass loudspeaker -R101- / front right mid-range and bass loudspeaker -R102- in front doors (bottom) |
| 4 - | Rear left treble loudspeaker -R14-/rear right treble loudspeaker -R16- in rear doors (top) |
| 5 - | Rear left mid-range and bass loudspeaker -R159- / rear right mid-range and bass loudspeaker -R160- in rear doors (bottom) |
| 6 - | Centre mid-range and treble loudspeaker -R158- in dash panel (centre) |
| 7 - | Subwoofer in rear shelf -R157- (saloon) |
| - Subwoofer in rear shelf -R157- in spare wheel well (Avant) |
| 8 - | MOST bus |
| Radio (CAN)/MMI sound system premium (Bang & Olufsen) |

| 1 - | Digital sound package control unit -J525- behind luggage compartment side trim (left-side) |
| 2 - | Front left treble loudspeaker -R20- and front right treble loudspeaker -R22- in mirror triangle |
| 3 - | Front left mid-range loudspeaker -R103- and front right mid-range loudspeaker -R104- in dash panel |
| 4 - | Front left bass loudspeaker -R21- / front right bass loudspeaker -R23- in front doors (bottom) |
| 5 - | Rear left treble loudspeaker -R14-/rear right treble loudspeaker -R16- in rear doors (top) |
| 6 - | Rear left mid-range and bass loudspeaker -R159- / rear right mid-range and bass loudspeaker -R160- in rear doors (bottom) |
| 7 - | Rear left mid-range loudspeaker -R105- / rear right mid-range loudspeaker -R106- in rear shelf (saloon) |
| - Rear left mid-range loudspeaker -R105- and rear right mid-range loudspeaker -R106- in D-pillars (Avant) |
| 8 - | Centre mid-range and treble loudspeaker -R158- in dash panel (centre) |
| 9 - | Subwoofer in rear shelf -R157- (saloon) |
| - Subwoofer in rear shelf -R157- in spare wheel well (Avant) |
| 10 - | Microphone unit in front roof module -R164- (internal microphone -R74-, all vehicles/voice command microphone -R206-, MMI up to week 44/08) in front interior light -W1- |
| 11 - | CAN bus (infotainment) |
| 12 - | MOST bus |
