audi Workshop Repair Guides

Audi Workshop Service and Repair Manuals

Connectors for Bluetooth hands-free system (CAN) > < Connectors for Bluetooth car phone (from week 45/08 onwards)
Connector for pre-fitted components for mobile phone installation
Connector for pre-fitted components for mobile phone installation
  Note
Contacts which are not listed are not used.
   
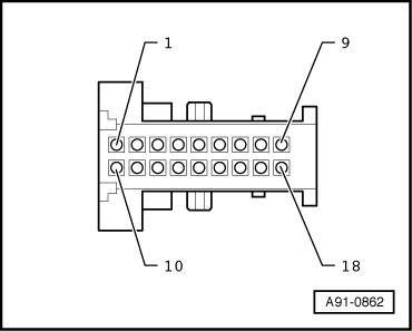
Multi-pin connector, 18-pin (T18a)
1 - Terminal 31
4 - NF mute (low frequency) to radio -R- / control unit for front display and information control panel -J523- / control unit 1 for information electronics -J794-
7 - NF (–) (low frequency) to radio -R- / digital sound package control unit -J525-
9 - Microphone input (–) from microphone unit in front roof module -R164-
10 - Terminal 15
11 - Terminal 30
16 - NF+ (low frequency) to radio -R- / digital sound package control unit -J525-
18 - Microphone input (+) from microphone unit in front roof module -R164-
  A91-0862

Connectors for Bluetooth hands-free system (CAN) > < Connectors for Bluetooth car phone (from week 45/08 onwards)