audi Workshop Repair Guides

Audi Workshop Service and Repair Manuals

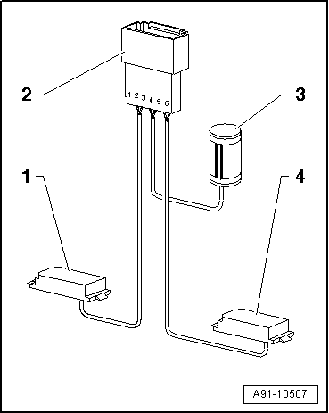
Connectors for mobile phone pre-installation (up to week 44/08) > < Bluetooth hands-free system (MMI from week 45/08 onwards) - layout
Microphone unit in front roof moduleR164 - overview
Microphone unit in front roof module -R164- - overview
The microphone unit in front roof module -R164- is fitted in the front interior light -W1-. There are up to three microphones installed (depending on equipment).
One of the microphones (telephone microphone -R38-) is connected directly to the navigation system with CD drive control unit -J401-/telephone transmitter and receiver unit -R36-. The other microphones are connected to the digital sound package control unit -J525- (from standard MMI onwards).
   
Microphone unit in front roof module -R164-
1 - Microphone (blue) for navigation system with CD drive control unit -J401- / telephone transmitter and receiver unit -R36- (left-hand drive) / digital sound package control unit -J525- (right-hand drive)
2 - Interior monitor send and receive module 1 -G303-
3 - Microphone (black) for digital sound package control unit -J525- (left-hand drive) / navigation system with CD drive control unit -J401- / telephone transmitter and receiver unit -R36- (right-hand drive)
4 - Internal microphone -R74- (black) for digital sound package control unit -J525- (from Standard MOST onwards)
5 - Multi-pin connector, 6-pin (T6c)
  A91-10479
Pin assignment
Left-hand drive vehicles:
1 - Front left microphone -R140- (black)
2 - 6-pin connector (T6c), pins 1-2: front left microphone -R140- (black), pins 3-4: internal microphone -R74- (black), pins 5-6: front right microphone -R141- (blue)
3 - Internal microphone -R74- (black)
4 - Front right microphone -R141- (blue)
Right-hand drive vehicles:
1 - Front right microphone -R141- (blue)
2 - 6-pin connector (T6c), pins 1-2: front right microphone -R141- (blue), pins 3-4: internal microphone -R74- (black), pins 5-6: front left microphone -R140- (black)
3 - Internal microphone -R74- (black)
4 - Front left microphone -R140- (black)
Removing and installing microphone unit in front roof module -R164- → Chapter.
  A91-10507

Connectors for mobile phone pre-installation (up to week 44/08) > < Bluetooth hands-free system (MMI from week 45/08 onwards) - layout