Audi Workshop Service and Repair Manuals
HOME
FEATURES
MENU
INDEX
ABOUT US
Removing and installing speech input control unitJ507 (up to week 44/08) >
< Layout in MMI (from week 45/08 onwards)
A4 Mk3
Vehicle electrics
Communication / Infotainment
Voice control system
Connector on speech input control unitJ507
Connector on speech input control unitJ507
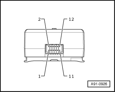
Connector on speech input control unit -J507-
Note
Contacts which are not listed are not used.
Multi-pin connector, 12-pin
1 -
Not used
2 -
Not used
3 -
Status
4 -
Diagnosis
5 -
Terminal 30
6 -
Reset signal
7 -
Power good
8 -
Power on
9 -
Terminal 31
10 -
MOST out
11 -
Enabled
12 -
MOST in
Vehicle electrics
Communication / Infotainment
Voice control system
Connector on speech input control unitJ507
Removing and installing speech input control unitJ507 (up to week 44/08) >
< Layout in MMI (from week 45/08 onwards)