audi Workshop Repair Guides

Audi Workshop Service and Repair Manuals

Servicing a smooth washer fluid pipe > < Washer fluid hoses
Disconnecting and connecting washer fluid hose connectors
Disconnecting and connecting washer fluid hose connectors
Different types of hose couplings are used to connect hoses to washer fluid pumps and washer jets or as disconnection points.
   
Non-secured hose coupling
–  Pull the two coupling elements apart to separate connection.
–  To connect, press the two coupling elements firmly together until they engage audibly and palpably.
  N27-10241
Secured hose coupling with retaining ring
–  To separate connection, turn retaining ring -1- 90° -arrow- and detach hose connection.
–  To connect, push on hose connection and turn retaining ring -1--arrow- until it engages.
  N27-10240
Secured hose coupling with retaining clip version 1
–  To separate connection, lift retaining clip -1- by approx. 1 mm -arrow- and detach hose connection.
–  To connect, push on hose connection and press in retaining clip until it engages.
  N27-10239
Secured hose coupling with retaining clip version 2
–  To separate connection, lift retaining clip -1--arrow- and detach hose connection.
–  To connect, push on hose connection and press in retaining clip until it engages.
  N92-10322
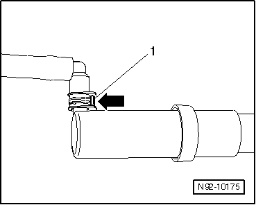
Hose coupling for headlight washer system with retaining clip
–  To separate connection, press retaining clip -1--arrow- and detach hose connection.
–  To connect, press and hold retaining clip -arrow- and push on hose connection.
–  Check whether connection is properly engaged by pulling on hose without pressing retaining clip.
  N92-10175
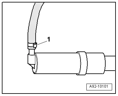
Hose coupling for headlight washer system with O-type clip
–  To separate connection, use side-cutting pliers to sever O-type clip -1- and detach hose connection.
–  To connect, slip a new O-type clip onto hose, attach hose connection and secure O-type clip using hose clip pliers -V.A.G 1275-.
  A92-10101
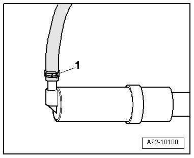
Hose coupling for headlight washer system with spring clip
–  To separate connection, open spring clip -1- using hose clip pliers -V.A.G 1921- and detach hose connection.
–  To connect, open spring clip using hose clip pliers -V.A.G 1921- and attach hose connection.
  A92-10100

Servicing a smooth washer fluid pipe > < Washer fluid hoses