audi Workshop Repair Guides

Audi Workshop Service and Repair Manuals

Cleaning contact surfaces with contact surface cleaning setVAS 6410 > < Primary locking device with flat connector systems
Primary locking device with special connector systems
Primary locking device with special connector systems
Procedure
  Note
If housing securing elements (secondary locking devices) are fitted, they must be released or removed using the specified tool before releasing the contacts → Chapter.
   
Fast-on contacts:
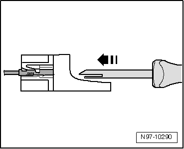
–  Insert appropriate release tool for connector housing in release slot at connector housing -arrow-.
–  Take hold of connector at wire and press it slightly into connector housing.
  Note
Pressing connector towards connector housing causes retaining tabs of connector to be lifted off housing shoulder, enabling them to be released with release tool.
  N97-10290
–  At the same time, press release tool towards connector housing and pull released connector out of connector housing -arrow-.
–  After removing connector, pull release tool out of connector housing.
  N97-10291
GT 150/280 connectors:
–  Insert appropriate release tool for connector housing beneath retaining tab into connector housing.
–  Press tool -arrow- in connector housing as far as it will go.
  N97-10294
l  Connector is ejected from connector housing.
–  After connector has been ejected, pull release tool out of connector housing.
  N97-10295
Contacts without retaining tabs:
–  Insert release tool beneath retaining tab on connector housing.
–  Lifting it slightly -arrow-, press release tool as far as stop.
  N97-10296
l  Connector is ejected from connector housing.
–  After removing connector, pull release tool out of connector housing.
  N97-10297

Cleaning contact surfaces with contact surface cleaning setVAS 6410 > < Primary locking device with flat connector systems