| The rubber valve for tubeless tyres is designed to be an air-tight seal on the hole in the rim. The elastic material of the rubber valve body presses tightly into the hole in the rim. |
| In the case of valves with a threaded metal base, a rubber seal is used to seal the rim. The lateral faces of the rim hole are sealing surfaces. They must therefore be free of rust and dirt and must not be damaged. |
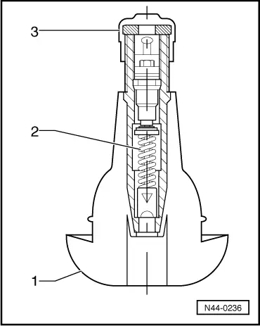
| The valve core fulfills the most important task in the valve; it acts as a seal and enables you to adjust the inflation pressure. The small flat seal on the valve core can only function correctly if it is free of foreign particles, dirt and moisture. |
| A valve cap must always be screwed onto the valve. It prevents dirt from getting into the valve. Dirt in the valve could reach the seal on the valve plunger when the tyre is inflated and lead to leakage. |
| The valve must be renewed every time a new tyre is fitted. |
| If the vehicle is driven without caps on the valves, there is the danger that dirt may get into the valve. This leads to a gradual loss of air, which in turn can lead to irreparable damage to the tyre. |
| t
| Separation of carcass and rubber |
| t
| Wide furrows all around the area of the bead |

Note | Please note: The valve cap must be fitted tightly to ensure air-tight sealing. |

Caution | Do not screw aluminium valve caps onto steel valve bodies. |
|
|
|
|