audi Workshop Repair Guides

Audi Workshop Service and Repair Manuals

One-sided wear – adjustment error > < Evenly worn tyres
One-sided wear
One-sided wear
This is often caused by driving style, but can be the result of incorrect wheel alignment.
One-sided wear, usually in conjunction with signs of scuffing on the ribs of the tread and in the fine grooves, always occurs when the tyres have been allowed to roll with an extreme tyre slip angle, causing them to »rub« on the road surface.
Driving fast on a stretch of road with lots of bends will cause increased wear, in particular on the outer shoulder.
A rounded outer shoulder on the tyre in conjunction with a particularly high degree of wear on the outer tread blocks indicates fast cornering. This wear pattern is influenced by driving style.
To optimise handling, the suspension is set to certain toe-in and camber values. Increased one-sided wear can be expected if tyres are allowed to roll under conditions which differ from those specified.
One-sided wear is especially likely if the toe-in and camber have not been set correctly. Moreover, there is a greater risk of diagonal erosion.
   
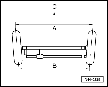
Toe-out or negative toe-in:
Distance between front of wheels -A- is greater than distance between rear of wheels -B- (-C- = direction of travel).
  N44-0239
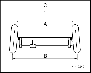
Toe-in or positive toe:
Distance between front of wheels -A- is less than distance between rear of wheels -B- (-C- = direction of travel).
To prevent one-sided wear, care must be taken to ensure that the wheel is set within the tolerance specified by the vehicle manufacturer. The most frequent deviation of the wheel alignment is caused by external influences, for example hard contact with the kerbstone when parking.
By measuring the axle geometry, you can check whether the wheel alignment is within the specified tolerances or whether it has to be corrected.
  N44-0240

One-sided wear – adjustment error > < Evenly worn tyres