A6 Quattro Wagon V6-3.2L (BKH) (2006)
Power Window Safety Switch: Service and Repair
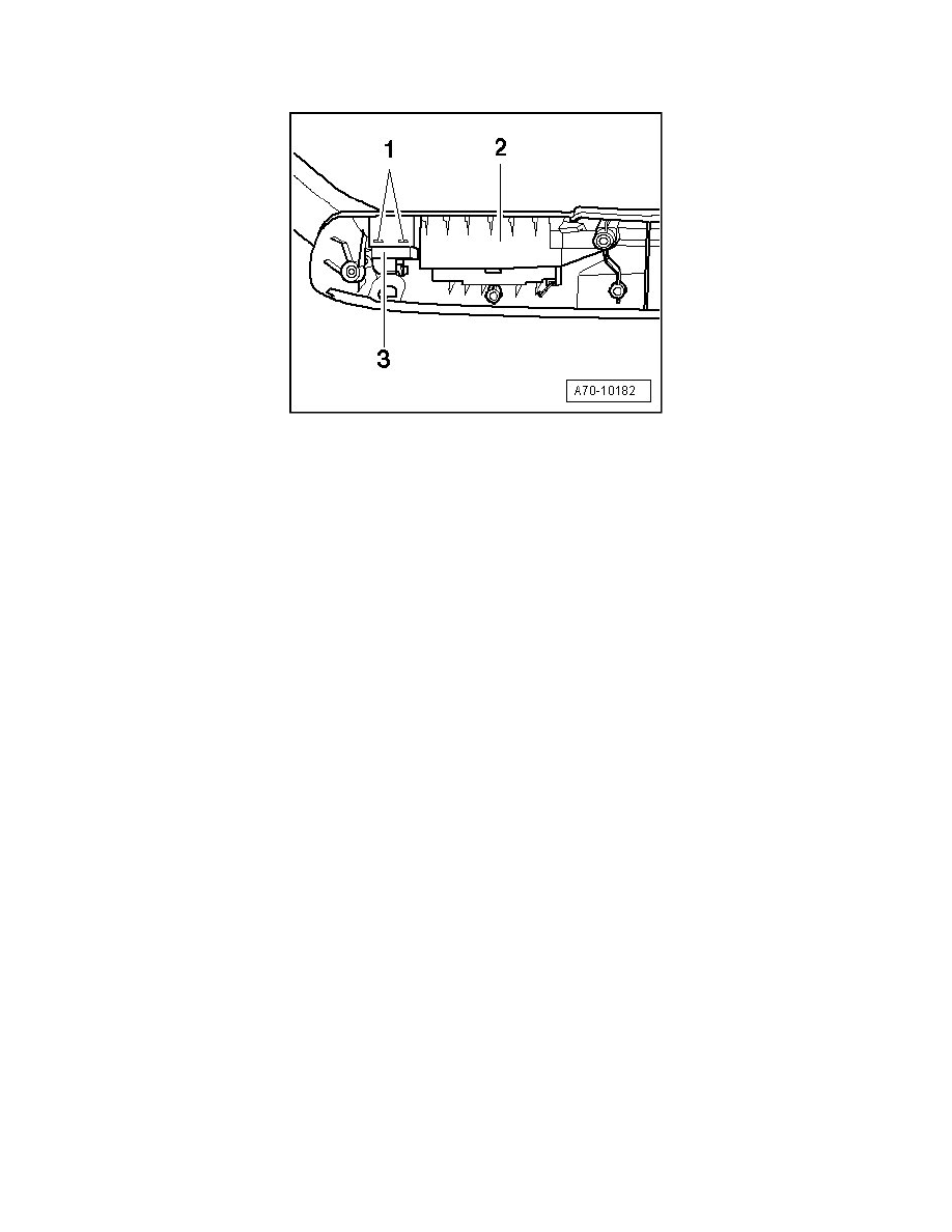
Window Regulator Switch
‹› Removing
-
Remove door trim => [ Rear Door Trim ].
-
Remove armrest - 2 - => [ Armrest ].
-
Pry window regulator switch - 3 - out at front and back at tabs - 1 - (Qty. 4) with a screwdriver.
‹› Installing
To install, perform the steps used in removal in reverse order.
