Q7 Quattro V6-3.6L (BHK) (2007)
Utility Storage Compartment: Service and Repair
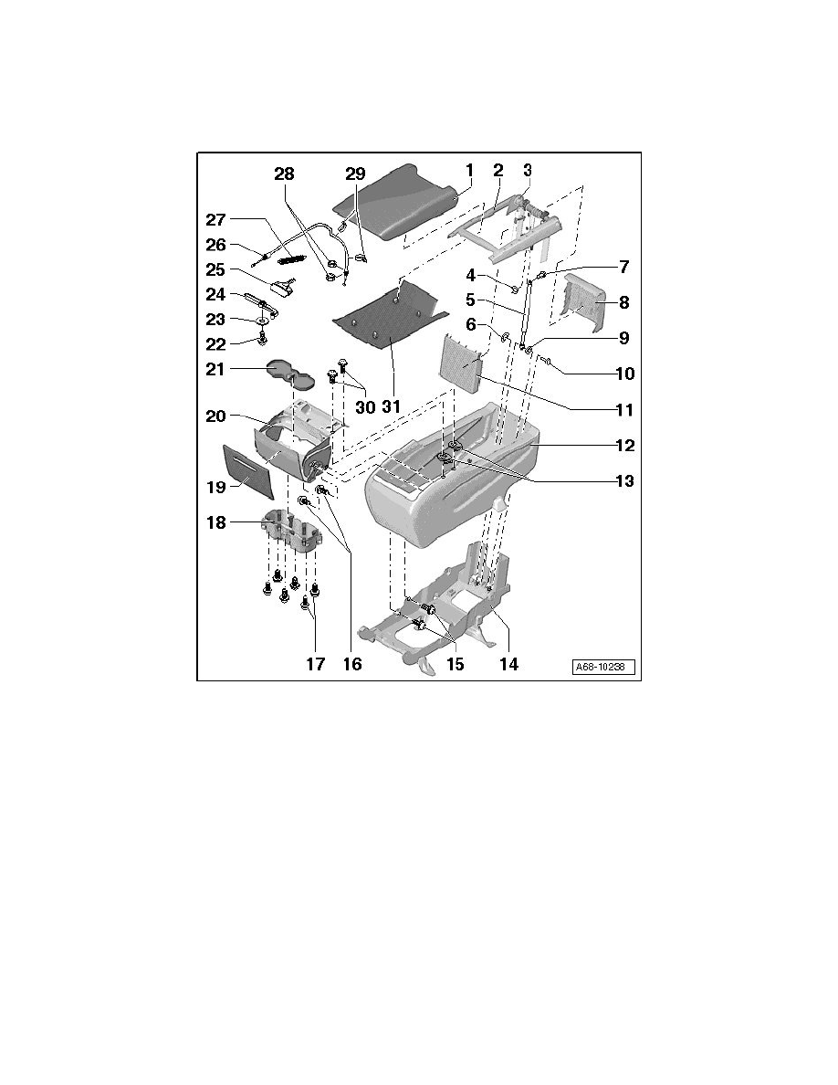
Multibox Component Overview
Multibox Component Overview
‹› The components in the exploded view are shown on one side only, the opposite side is identical.
1
Center armrest, upholstery
‹› Removing and Installing, refer to => [ Center Armrest Upholstery ] See:
2
Center armrest frame multibox
‹› Cannot be replaced separately
3
Trim
‹› Be careful when removing; the trim cannot be replaced separately
4
Circlip
5
Gas strut
‹› Removing and Installing, refer to => [ Gas-filled Strut ] See:
6
Circlip
7
Bolts
