3 Series E36 316g (M43) COMP
51 14 110
Removing and installing/replacing model
designation (emblem) at rear (compact)
The model sign is glued and cannot be reused after
removal.
The model sign must be installed at room temperature.
Coat nylon string or thread with tenside (e.g. dish
detergent), cut through adhesive layer and remove with
washing benzene.
At paint baking temperatures exceeding 80
°
C, the model
designation must be removed.
compact:
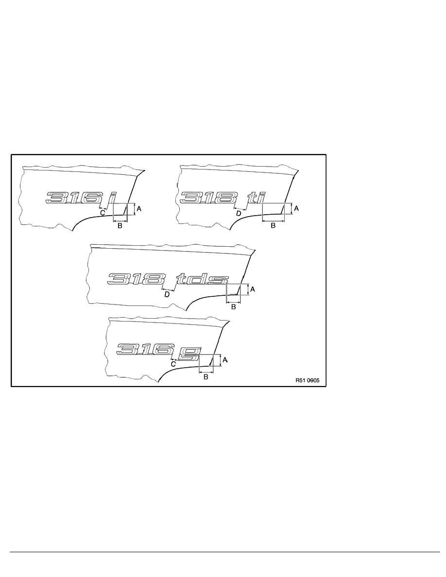
Apply adhesive tape up to upper edge "A" and mark dimensions as per table.
Dimension in mm
compact 316 i:
A = 20, B = 33, C = 16
compact 318 tds, ti:
A = 20, B = 33, D = 20
compact 316 g (CNG):
A = 30, B = 33, C = 16
Interrupt the adhesive tape for the letter "g".
RA Removing and installing/replacing model designation (emblem) at rear (compact)
BMW AG - TIS
17.01.2013 15:47
Issue status (12/2007) Valid only until next DVD is issued
Copyright
Page - 1 -
