3 Series E36 318i (M42) CONVER
51 25 ...
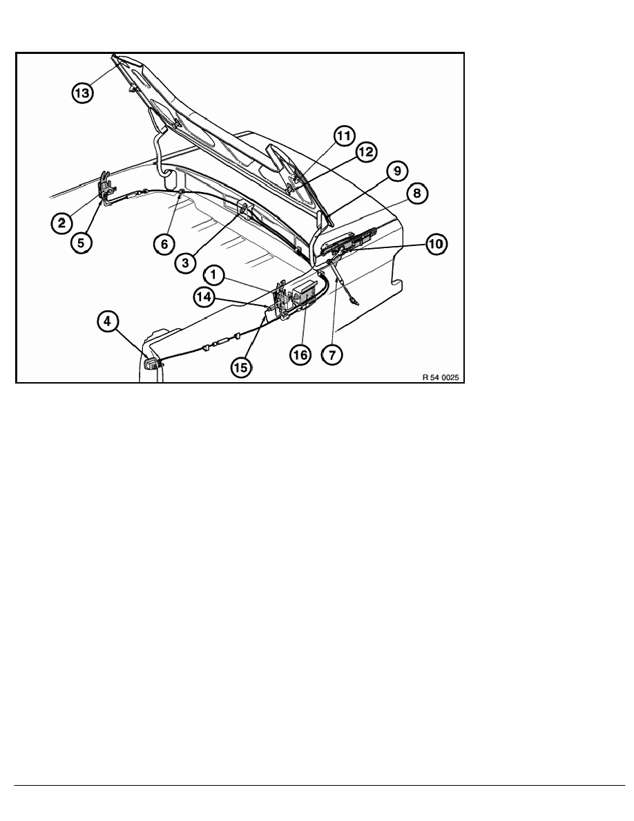
Configuration of convertible top cover
1
Soft top compartment cover lock, left
2
Soft top compartment cover lock, right
3
Center guide
4
Actuating lever
5
Clip
6
Clip
7
Gas strut
8
Hinge bracket L/R
9
Shims
10
Retainer
11
Closing bracket
12
Detent L/R
13
Emergency detent L/R
14
Sliding member
15
Connecting rod
16
Actuator drive (forced locking)
RA Configuration of convertible top cover
BMW AG - TIS
22.01.2013 16:56
Issue status (12/2007) Valid only until next DVD is issued
Copyright
Page - 1 -
