3 Series E36 320i (M52) COUPE
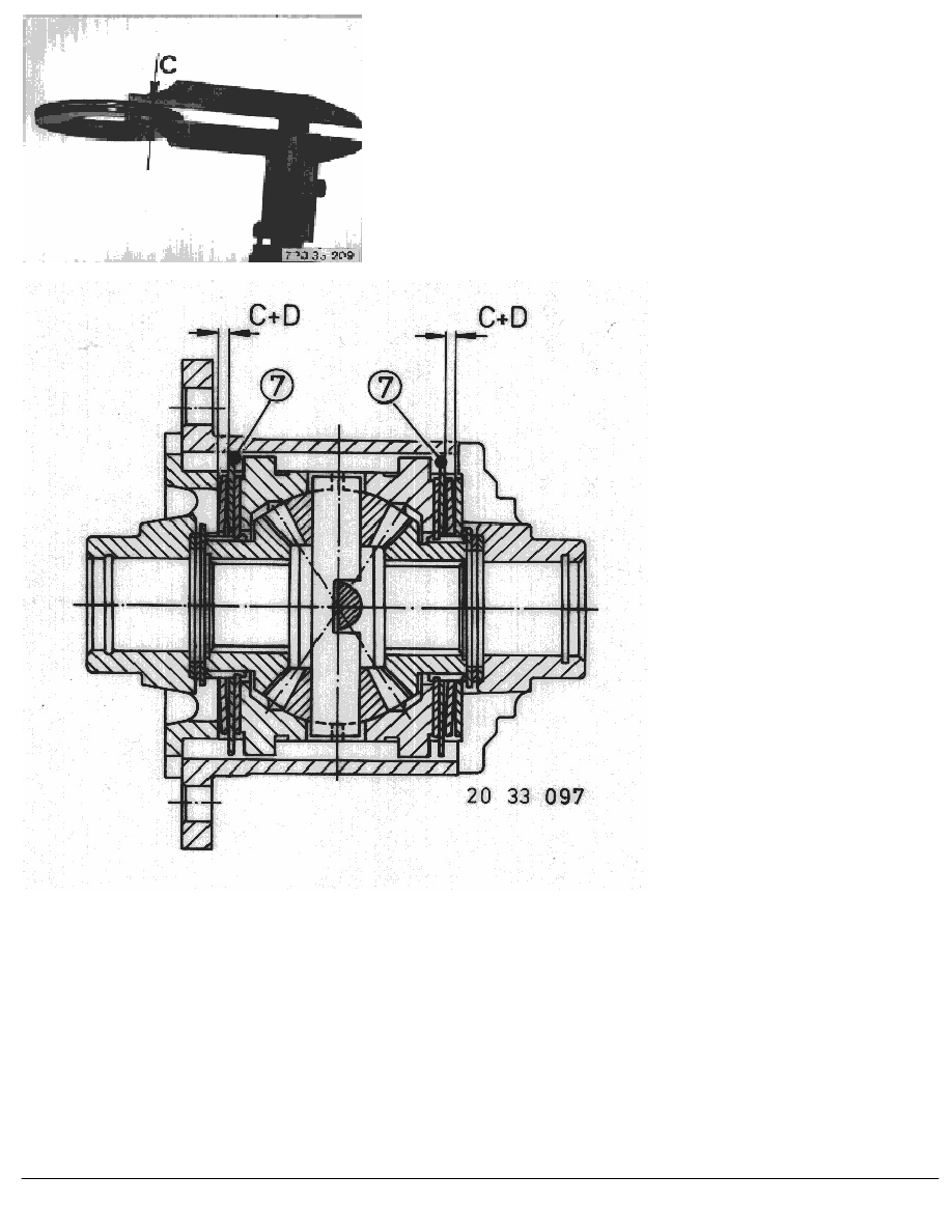
Place both diaphragm spring curved surfaces together.
Measure dimension C on the plate springs, e.g. C = 4.8 mm.
To ensure that the plate springs are not block-preloaded,
installation clearance of 0.1 ... 0.4 mm is required.
RA Dismantling and reassembling limited slip differential (Type M) - rear axle remo
BMW AG - TIS
07.02.2013 02:53
Issue status (12/2007) Valid only until next DVD is issued
Copyright
Page - 3 -
