3 Series E46 316Ci (M43TU) COUPE
32 41 ...
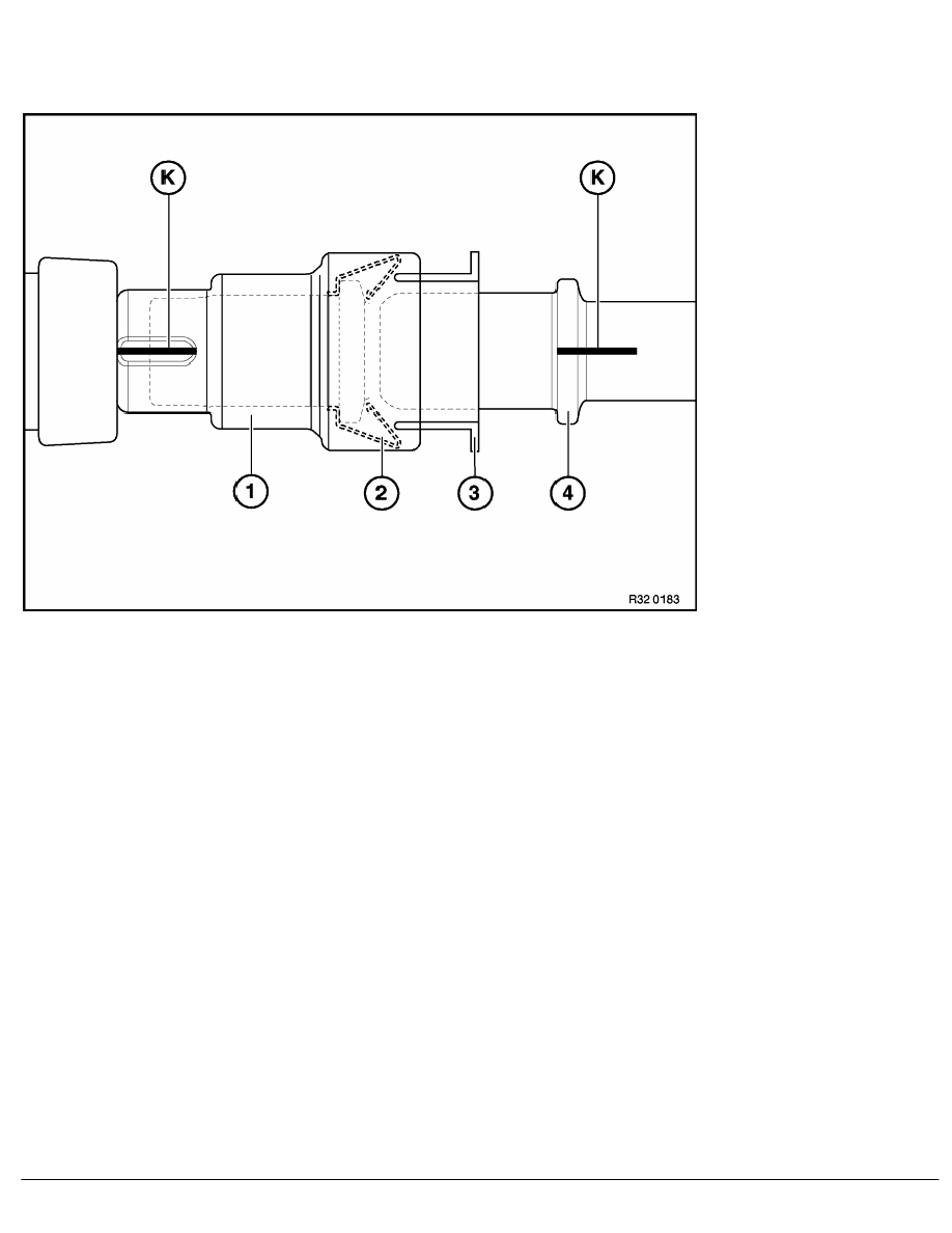
Notes on hydraulic line with quick-connect coupling
1) Quick-connect coupling with ID marking
Removing:
Push quick-connect coupling (1) against pipe (4) (thereby relieving strain on spring (2)).
Press plastic ring (3) into quick-connect coupling (1) and remove coupling (1).
Assembly:
Markings (K) on coupling (1) and pipe (4) must be flush.
Push quick-connect coupling (1) onto pipe (4) until a "click" can clearly be heard.
To check that quick-connect coupling (1) has been installed correctly, pull it back forcefully.
2) Quick-connect coupling with indication pins
RA Notes on hydraulic line with quick-connect coupling
BMW AG - TIS
17.01.2013 13:56
Issue status (12/2007) Valid only until next DVD is issued
Copyright
Page - 1 -
