bmw Workshop Repair Guides

BMW Workshop Service and Repair Manuals

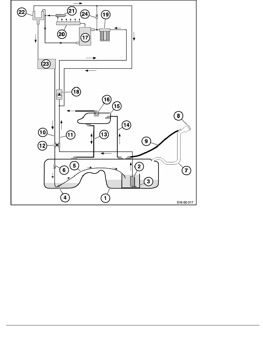
17 Cooling System (M43TU) > < 3 SBT Functional Description Of Fuel Supply System E38 E39 E46 E52 E53|Page 3781
Page 28
background image

6.5 Fuel supply system E46 M57

SBT  Functional description of fuel supply system E38 E39 E46 E52 E53

BMW AG - TIS

17.01.2013  21:24

Issue status (12/2007) Valid only until next DVD is issued

Copyright

Page  - 28 -

17 Cooling System (M43TU) > < 3 SBT Functional Description Of Fuel Supply System E38 E39 E46 E52 E53|Page 3781