3 Series E46 318ti (N42) COMP
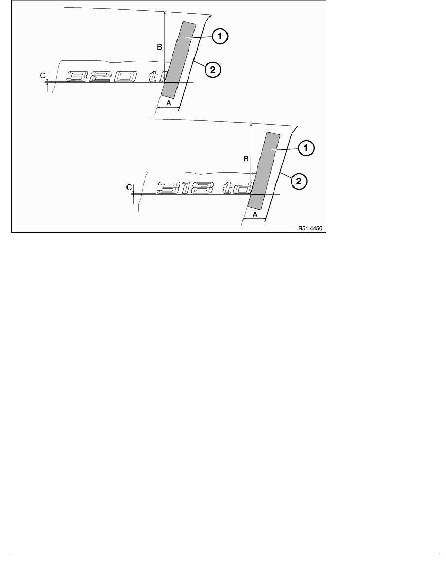
Stick on adhesive tape (1) from edge of rear lid (2) up to measurement "A" and mark out measurement "B".
Observe measurement "C" when sticking on number/letter combination.
Compact 316 ti ... 325 ti:
A= 41 mm
B= 134.5 mm
C= 1 mm
Compact 318 td, 320 td:
A= 41 mm
B= 134.5 mm
C= 1 mm
RA Removing and installing/replacing rear model designation
BMW AG - TIS
12.02.2013 09:00
Issue status (12/2007) Valid only until next DVD is issued
Copyright
Page - 4 -
