5 Series E39 520i (M52) TOUR
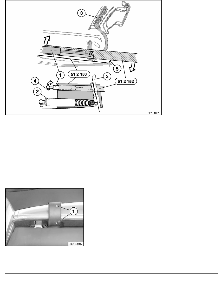
Rear window frame (3) and tailgate must be open.
(1) Gas spring strut for rear window frame
(2) Gas spring strut for trunk lid
(3) Rear window frame
(4) Gas spring strut support on body
(5) Fabric adhesive tape to protect against damage to sealing flange
Special tool 51 2 153 for protection of the paintwork.
Special tool 51 2 152 for levering out gas spring strut (1) for rear window frame
Removal of the gas spring strut (2) for the tailgate is the same, however is carried out with special tool 51 2 151.
Remove cover (gas spring strut for tailgate):
Open tailgate.
Release screws (1).
RA Removing and installing / replacing gas spring strut for left or right rear wind
BMW AG - TIS
03.02.2013 22:40
Issue status (12/2007) Valid only until next DVD is issued
Copyright
Page - 2 -
