X Series E70 X5 3.0d (M57T2) OFFRD
37 13 ...
Notes on fitting a new pipe or a screw
connection
Important!
Do not kink, twist or crush lines.
Do not disassemble screw connection!
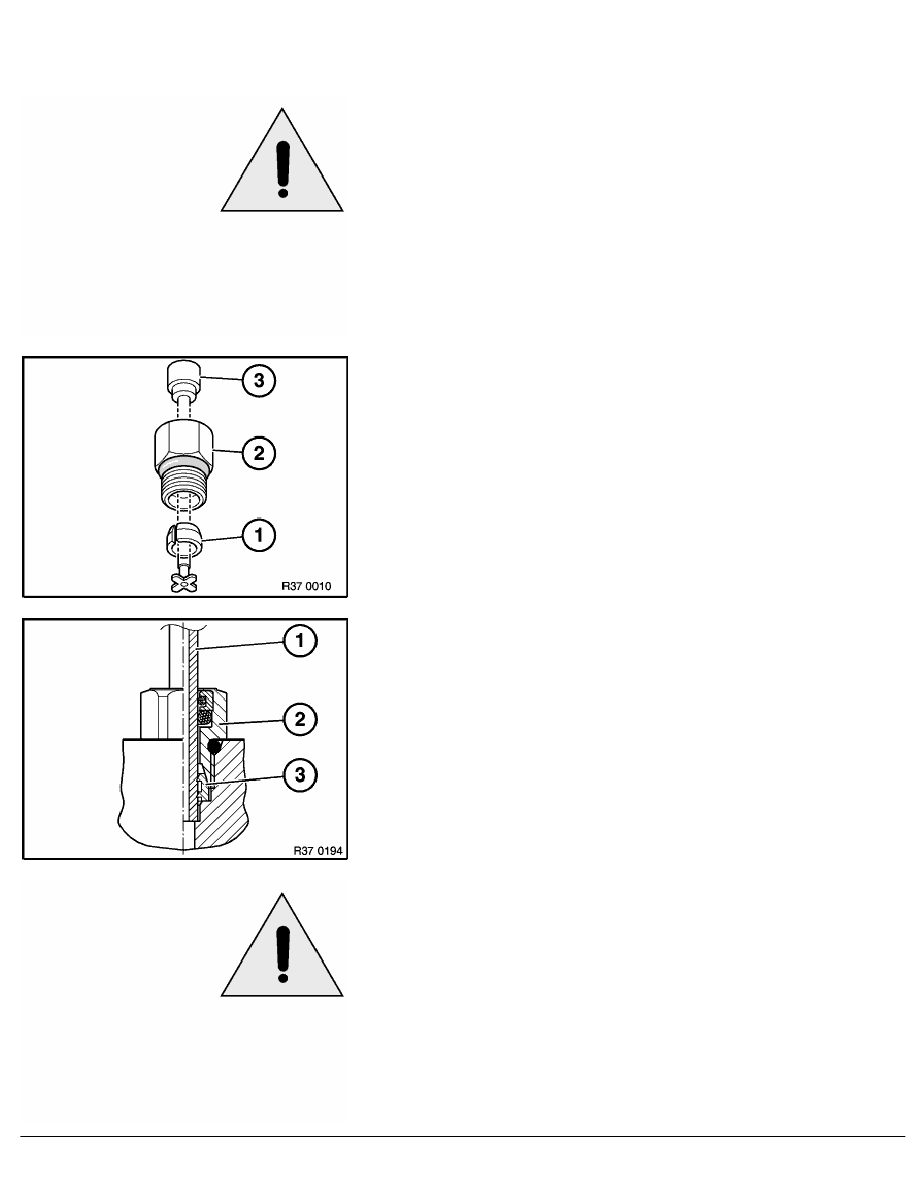
Fitting new screw connection:
Insert complete new screw connection consisting of toothed
ring (1), banjo bolt (2) and assembly plug (3) into air
spring/pipe connection of air supply unit.
Tightening torque 37 12 3AZ
.
Remove assembly plug (3).
Slide new pipe (1) into banjo bolt (2) up to marking.
Check installation position of pipe (1) by pulling back slightly.
Note:
The toothed ring (3) has engaged correctly when the pipe (1)
cannot be pulled back.
Fitting new pipes:
Important!
To avoid leaks in the air spring system, it is essential to avoid
scratches on pipes in particular in the connection area!
RA Notes on fitting a new pipe or a screw connection
BMW AG - TIS
03.02.2013 23:23
Issue status (12/2007) Valid only until next DVD is issued
Copyright
Page - 1 -
