X Series E83 X3 2.5Si (N52K) OFFRD
51 12 ...
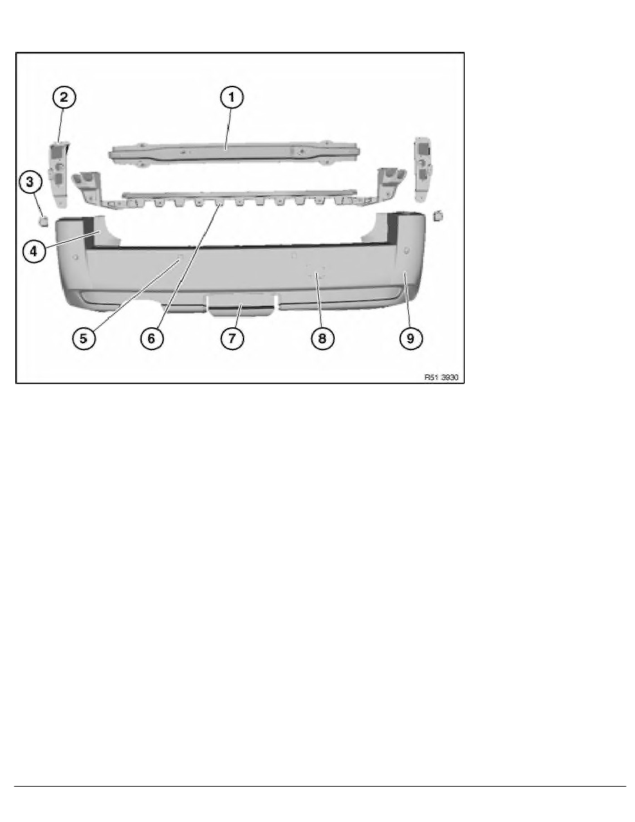
Overview of rear bumper (up to 09/2006)
1
Carrier, rear
6
Guide, middle
2
Holder, side
7
Cover, trailer tow hitch
3
Guide, side
8
Cover on towing eye
4
Cover/trim, loading sill
9
Bumper trim, rear
5
Ultrasonic transducer, rear
RA Overview of rear bumper (up to 09/2006)
BMW AG - TIS
11.02.2013 16:24
Issue status (12/2007) Valid only until next DVD is issued
Copyright
Page - 1 -
