RAM 1500 Truck 4WD V8-5.7L VIN 2 (2007)
Firing Order: Electrical Specifications
DESCRIPTION
The 5.7L engine (345 CID) eight-cylinder engine is a 90° V-Type lightweight, deep skirt cast iron block, aluminum heads, single cam, overhead valve
engine with hydraulic roller tappets. The heads incorporate splayed valves with a hemispherical style combustion chamber and dual spark plugs. The
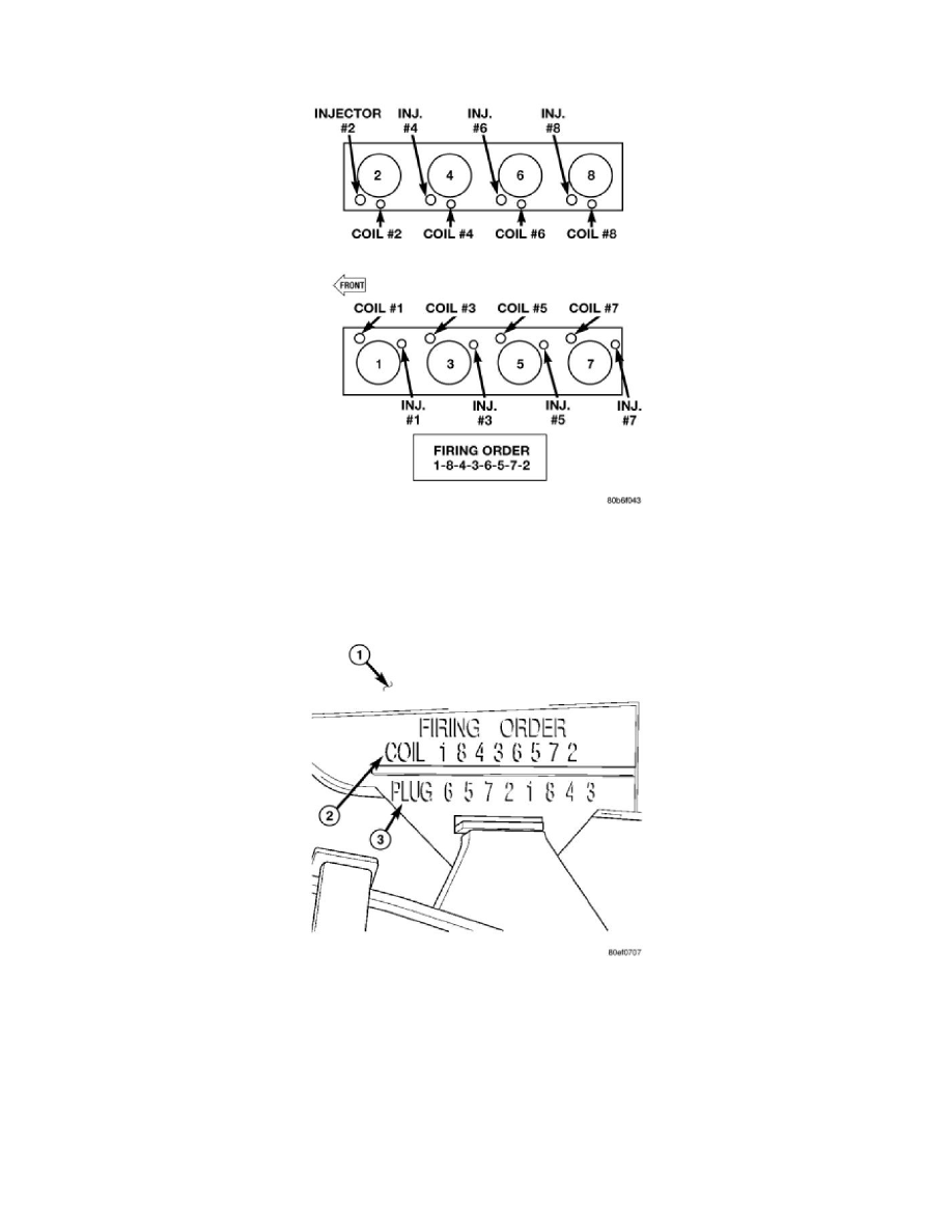
cylinders are numbered from front to rear; 1, 3, 5, 7 on the left bank and 2, 4, 6, 8 on the right bank. The firing order is 1-8-4-3-6-5-7-2.
These numbers (2) and (3) can also be found on the top of the intake manifold (1) to the right of the throttle body.
