ford Workshop Repair Guides

Ford Workshop Service and Repair Manuals

Fuel Charging and Controls - Vehicles With: Diesel Particulate Filter (DPF) > < 303-04E Fuel Charging and Controls - 2.0L Duratorq-TDCi (DW) Diesel|Specifications
Fuel Charging and Controls - 2.0L Duratorq-TDCi (DW) Diesel - Fuel Charging and Controls C-MAX 2003.75 (06/2003-)
Description and Operation

Overview

 
Item
Part Number
Description
1
-
Injector valve
2
-
Fuel metering valve
3
-
Fuel pressure control valve
4
-
Fuel pump
5
-
Common rail
6
-
Fuel pressure sensor

General

A Siemens common rail diesel injection system is used on the 2.0L Duratorq TDCi (DW10) engine.

In the fuel pump is an integral fuel transfer pump which transports the fuel from the fuel tank to the fuel pump.

A fuel metering valve is located in the feed port to the high-pressure chamber of the fuel pump; this valve varies the quantity of fuel supplied to the high pressure pump elements, in accordance with driving conditions.

At high pressure, the fuel is fed to the common rail and to the injectors ready for injection. Depending on engine operating conditions, the injection pressure varies between approx. 350 bar and 1650 bar.

Fuel pressure is measured using a fuel pressure sensor on the common rail. The fuel pressure sensor converts the fuel system pressure into a voltage signal. This voltage signal acts as an input signal to the powertrain control module (PCM) for calculation of the injection quantity.

The PCM calculates the time of injection and the injection quantity depending on various input variables.

The specified quantity of fuel is injected into the respective combustion chamber via the piezo-electrically actuated injectors. In doing so, a pre-injection and a main injection occur each time.

The excess fuel is returned to the fuel tank via the fuel return pipe.

The fuel pressure control valve on the high-pressure outlet of the fuel pump regulates the fuel pressure and thereby also the pressure in the common rail.

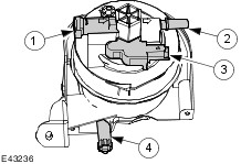
Fuel pump

 
Item
Part Number
Description
1
-
High-pressure outlet to the common rail.
2
-
Feed to the fuel filter
3
-
Fuel metering valve
4
-
Return to the fuel tank
5
-
Fuel pressure control valve

The fuel pump is attached to the cylinder head on the transmission side and is driven directly by the exhaust camshaft via a flange.

The fuel pump has three pump elements, each offset from each other by 120°.

The fuel transfer pump is incorporated into the fuel pump and is located on the drive flange. The fuel transfer pump is a vane type pump.

The fuel metering valve is located in the feed port between the high-pressure pump elements and the fuel transfer pump. It is actuated by the PCM using pulse width modulation.

The high-pressure outlets of the three high-pressure pump elements are grouped together in a high-pressure connection.

The fuel pressure control valve is located on the high-pressure outlet to the common rail. The fuel pressure regulator operates electromagnetically and is actuated by the PCM .

Common rail

 
Item
Part Number
Description
1
-
Fuel pressure sensor
NOTE:
NOTE:The fuel pressure sensor on the common rail must not be detached or removed.

The common rail is made from forged steel and is attached directly to the cylinder block.

The fuel is transported via one high-pressure line from the fuel pump to the common rail.

From the common rail, the fuel travels via four more high-pressure fuel lines to the injectors.

Fuel filter

 
Item
Part Number
Description
1
-
Feed from the fuel tank
2
-
Connection to fuel pump
3
-
Electrical fuel pre-heat
4
-
Drain plug

The fuel filter is located above the common rail and is attached to the cylinder head by means of a bracket.

The fuel filter has an electric fuel heater which is located centrally on the fuel filter between the feed connection and the drain connection.

The fuel filter forms a single component with the housing and can only be renewed as a complete unit.

The fuel filter also has a water trap. This must be drained regularly in accordance with maintenance instructions.

Fuel injectors

 
Item
Part Number
Description
1
-
Connection - high-pressure fuel line
2
-
Connector
3
-
Retainer
4
-
Copper sealing ring
5
-
Plastic bush
6
-
Connection - return line

The injectors are located centrally on the cylinder head upper section and are attached by means of retainers.

The guide bushes in the cylinder head lower section and the plastic guide bushes on the injectors ensure that they are centred properly.

They are sealed off from the combustion chamber by means of a copper sealing washer located between the injector and the cylinder head. This must always be renewed when carrying out installation work.

The injectors are actuated directly by the PCM. The injectors are actuated by piezo-electric elements.

The return lines are attached to the top of the injector and are connected in series.

Fuel Charging and Controls - Vehicles With: Diesel Particulate Filter (DPF) > < 303-04E Fuel Charging and Controls - 2.0L Duratorq-TDCi (DW) Diesel|Specifications