Ford Workshop Service and Repair Manuals
HOME
FEATURES
MENU
INDEX
ABOUT US
Battery Junction Box|Page 2136 >
< Electrical - A/C Not Cooling/DRL Inoperative
E 250 V10-6.8L VIN S (2005)
Maintenance
Fuses and Circuit Breakers / Fuse / Component Information
Locations
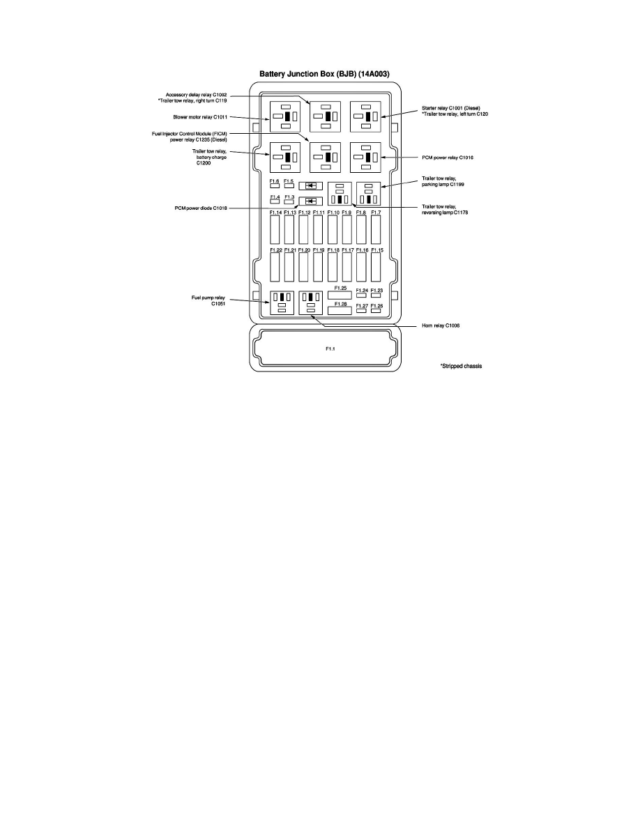
Battery Junction Box
Page 1
Fuse: Locations
Battery Junction Box
Maintenance
Fuses and Circuit Breakers / Fuse / Component Information
Locations
Battery Junction Box
Battery Junction Box|Page 2136 >
< Electrical - A/C Not Cooling/DRL Inoperative