Ford Workshop Service and Repair Manuals
HOME
FEATURES
MENU
INDEX
ABOUT US
Battery Junction Box|Page 5551 >
< Battery Junction Box|Page 5546
E 250 V10-6.8L VIN S (2005)
Power and Ground Distribution
Fuse Block
Component Information
Locations
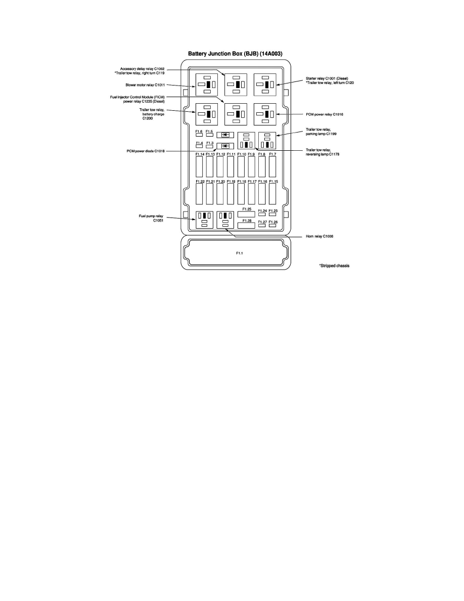
Battery Junction Box
Page 1
Fuse Block: Locations
Battery Junction Box
Power and Ground Distribution
Fuse Block
Component Information
Locations
Battery Junction Box
Battery Junction Box|Page 5551 >
< Battery Junction Box|Page 5546