Ford Workshop Service and Repair Manuals
HOME
FEATURES
MENU
INDEX
ABOUT US
Battery Junction Box|Page 5489 >
< Battery Junction Box|Page 5484
E 250 V10-6.8L VIN S (2005)
Starting and Charging
Power and Ground Distribution
Relay Box
Component Information
Locations
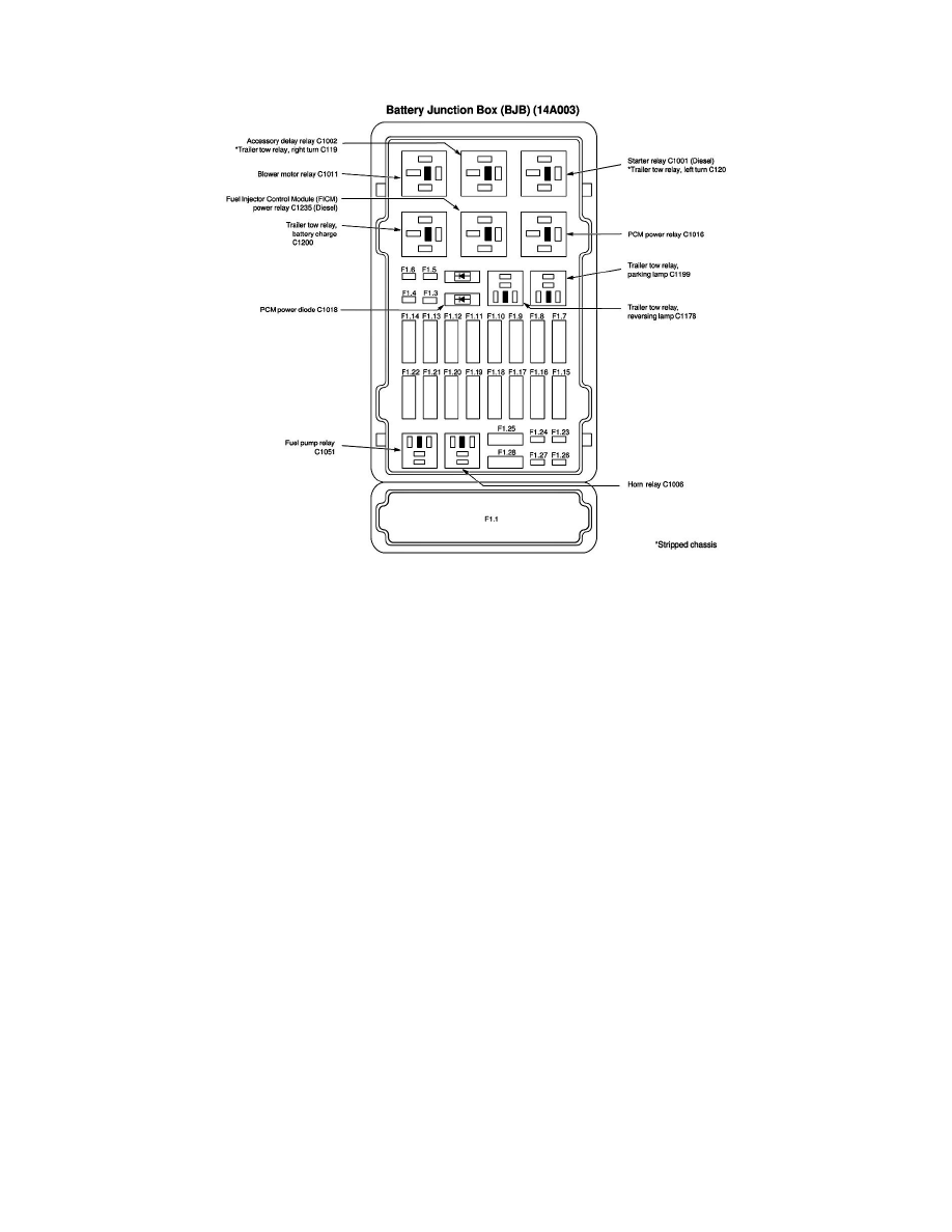
Battery Junction Box
Page 1
Relay Box: Locations
Battery Junction Box
Starting and Charging
Power and Ground Distribution
Relay Box
Component Information
Locations
Battery Junction Box
Battery Junction Box|Page 5489 >
< Battery Junction Box|Page 5484