ford Workshop Repair Guides

Ford Workshop Service and Repair Manuals

Diagram Information and Instructions|Page 1568 > < Diagram Information and Instructions|Page 1566
Page 6
background image

8. Use shielded heat gun to heat the repaired area until adhesive flows Out of both ends of heat shrink tubing.
9. Reconnect battery ground cable.

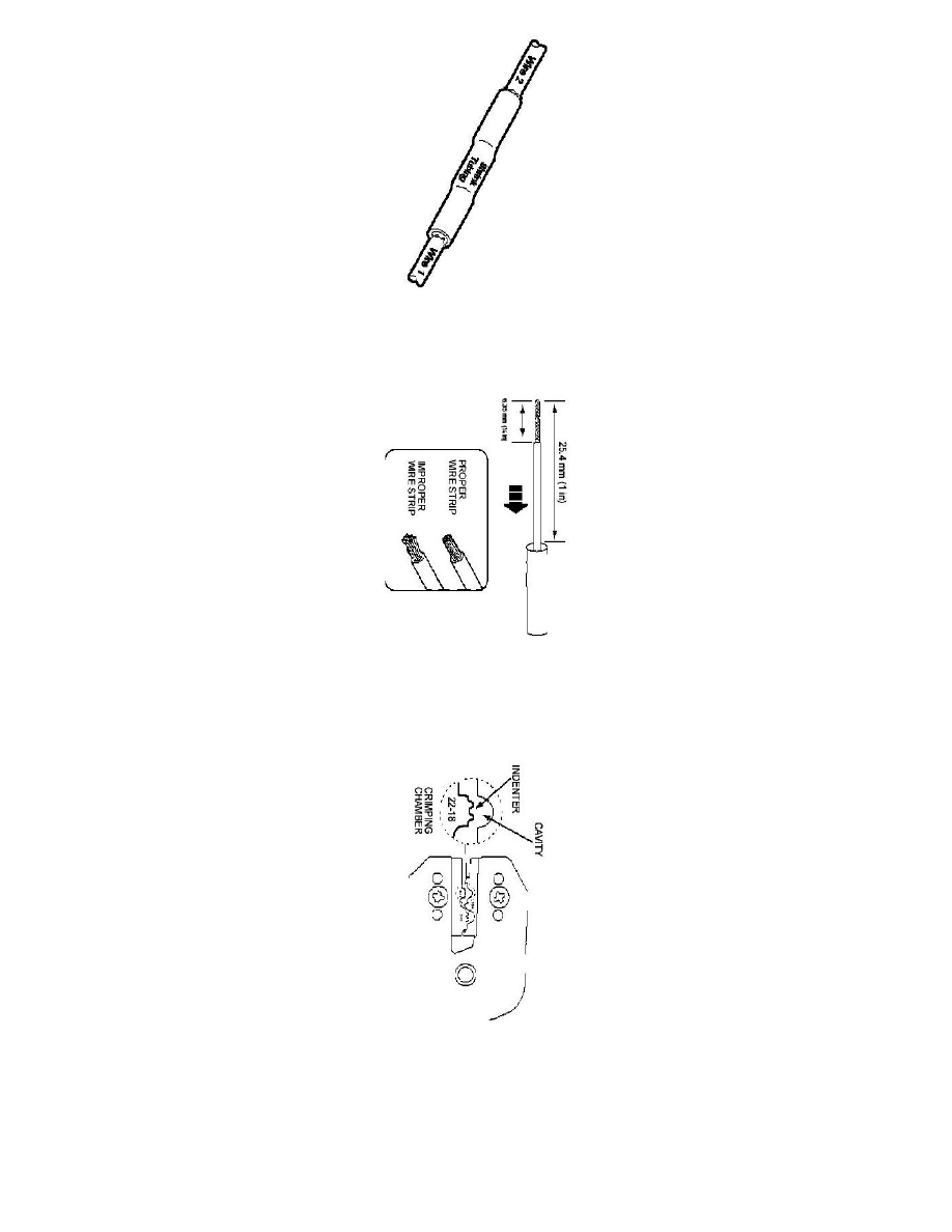
Recommended splicing method - Crimp (For 10-22 AWG Diameter Wire to Like Wire Diameter)

1. Disconnect battery ground cable.
2. Strip 6.35mm (1/4 in) of insulation from each wire end, taking care not to nick or cut wire strands.
3. Install heat shrink tubing.

NOTE: Use heat shrinkable tubes marked with ES-1 (16-22 GA) or ES-2 (10-18 GA) to seal wire splice.

4. Select appropriate wire splice for the wires to be spliced.
5. Identify the appropriate crimping chamber on the Rotunda 164-R5901 Pro-Crimper by matching the wire size on the dies with the wire size

stamped on the butt splice.

NOTE:  Rotunda 164-R5901 Pro-Crimper is the only tool that can be used with these splices.

Diagram Information and Instructions|Page 1568 > < Diagram Information and Instructions|Page 1566