ford Workshop Repair Guides

Ford Workshop Service and Repair Manuals

Door Lock Cylinder > < Ignition Lock Cylinder
Handles, Locks, Latches and Entry Systems - Door Latch Remote Control Focus 2004.75 (07/2004-)
Removal and Installation

  1. Remove the door trim panel. For additional information, refer to Section  501-05 Interior Trim and Ornamentation.

2. Remove the components in the order indicated in the following illustration(s) and table(s).

 
Item
Part Number
Description
2
-
Door latch remote control cable
See Removal Detail
3
-
Door latch remote control retaining clip
4
-
Door latch remote control
See Removal Detail

3. To install, reverse the removal procedure.

Removal Details

Item 1 : Door latch remote control handle lock

  1. Operate the door latch remote control handle lock to the lock position.

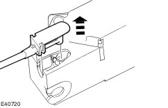
Item 2 : Door latch remote control cable

  1. Disconnect the door latch remote control cable from the door latch remote control.

Item 4 : Door latch remote control

  1. Slide the door latch remote control away from the door latch remote control retaining clip.

Door Lock Cylinder > < Ignition Lock Cylinder