Ford Workshop Service and Repair Manuals
HOME
FEATURES
MENU
INDEX
ABOUT US
Sunroof / Moonroof Switch|Testing and Inspection|Page 7317 >
< Seat Memory Switch|Locations|Page 7313
Taurus X AWD V6-3.5L (2009)
Body and Frame
Sensors and Switches - Body and Frame
Sunroof / Moonroof Switch
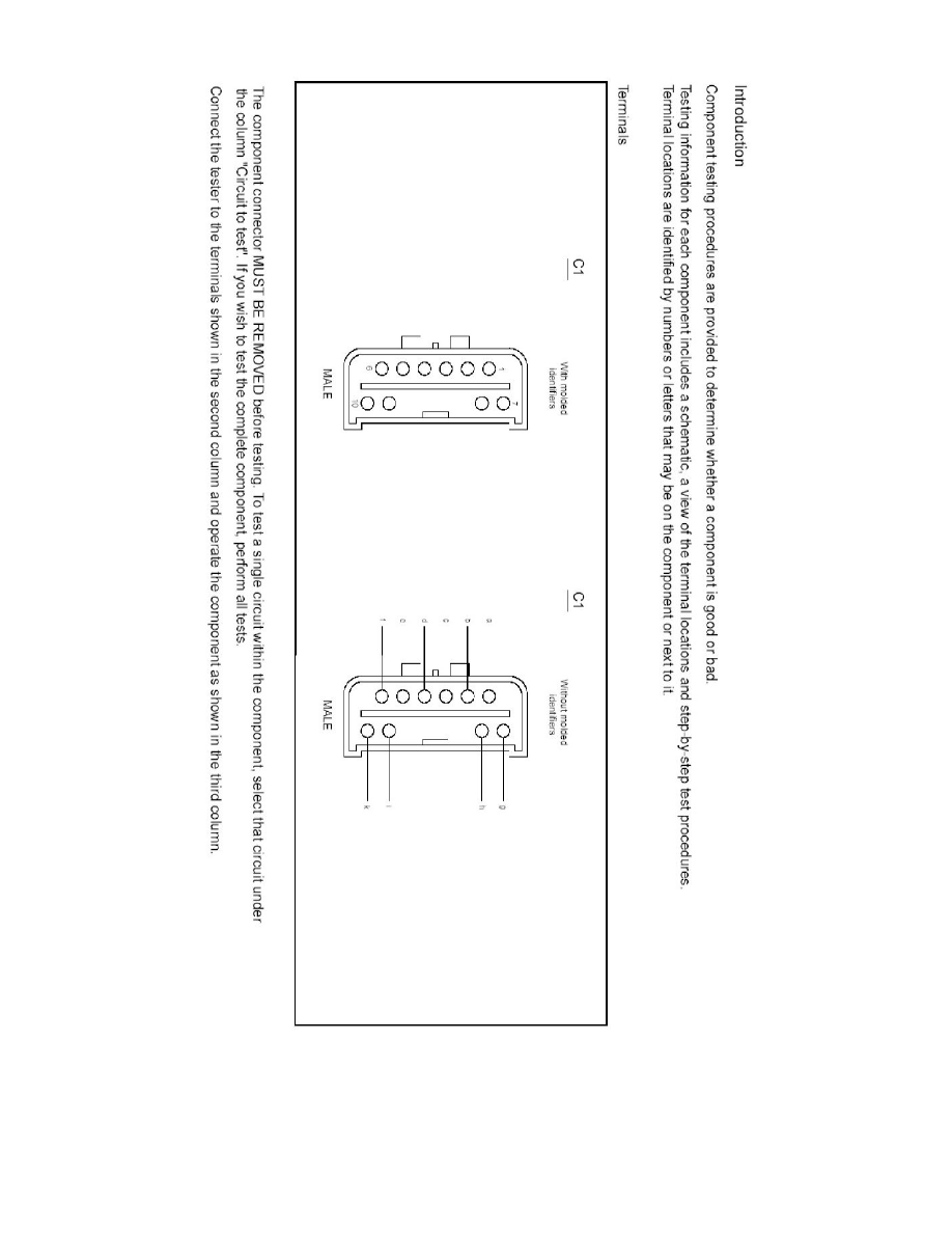
Component Information
Testing and Inspection
Page 1
Sunroof / Moonroof Switch: Testing and Inspection
Body and Frame
Sensors and Switches - Body and Frame
Sunroof / Moonroof Switch
Component Information
Testing and Inspection
Sunroof / Moonroof Switch|Testing and Inspection|Page 7317 >
< Seat Memory Switch|Locations|Page 7313