Ford Workshop Service and Repair Manuals
HOME
FEATURES
MENU
INDEX
ABOUT US
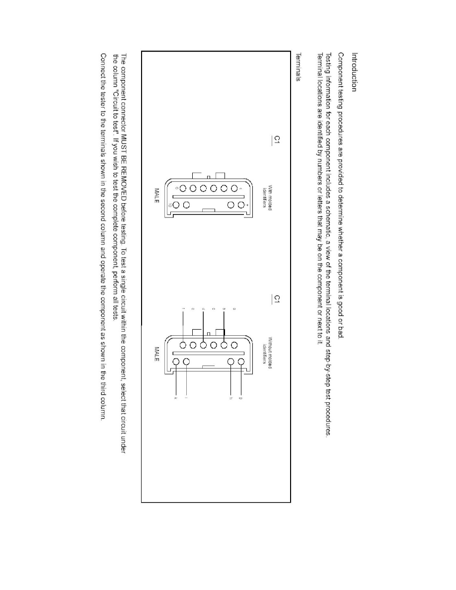
Illumination Dimmer Switch|Page 7802 >
< Multifunction Switch|Page 7799
Taurus X AWD V6-3.5L (2009)
Lighting and Horns
Headlamp
Headlamp Dimmer Switch / Component Information
Testing and Inspection
Illumination Dimmer Switch
Page 1
Headlamp Dimmer Switch: Testing and Inspection
Illumination Dimmer Switch
Lighting and Horns
Headlamp
Headlamp Dimmer Switch / Component Information
Testing and Inspection
Illumination Dimmer Switch
Illumination Dimmer Switch|Page 7802 >
< Multifunction Switch|Page 7799