ford Workshop Repair Guides

Ford Workshop Service and Repair Manuals

Seat Control Switch, 6 - Way Driver or 2 - Way Passenger Power Seat|Page 486 > < Seat Control Switch, Second Row, Left|Page 483
Page 1
background image

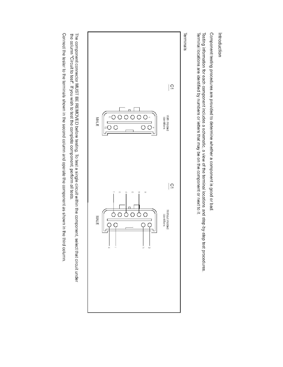
Power Seat Switch: Testing and Inspection
Seat Control Switch, 6 - Way Driver or 2 - Way Passenger Power Seat

Seat Control Switch, 6 - Way Driver or 2 - Way Passenger Power Seat|Page 486 > < Seat Control Switch, Second Row, Left|Page 483