Ford Workshop Service and Repair Manuals
HOME
FEATURES
MENU
INDEX
ABOUT US
Illumination Dimmer Switch|Page 764 >
< Multifunction Switch|Page 761
Taurus X AWD V6-3.5L (2009)
Sensors and Switches
Sensors and Switches - Lighting and Horns
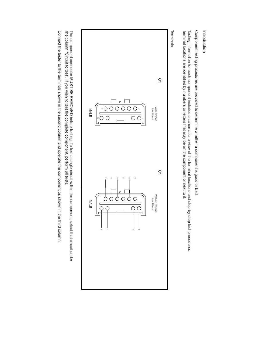
Headlamp Dimmer Switch / Component Information
Testing and Inspection
Illumination Dimmer Switch
Page 1
Headlamp Dimmer Switch: Testing and Inspection
Illumination Dimmer Switch
Sensors and Switches
Sensors and Switches - Lighting and Horns
Headlamp Dimmer Switch / Component Information
Testing and Inspection
Illumination Dimmer Switch
Illumination Dimmer Switch|Page 764 >
< Multifunction Switch|Page 761