Ford Workshop Service and Repair Manuals
HOME
FEATURES
MENU
INDEX
ABOUT US
Multifunction Switch, Wiper/Washer Portion - Front|Page 1243 >
< Windshield Washer Switch|Locations|Page 1240
Taurus X AWD V6-3.5L (2009)
Sensors and Switches
Sensors and Switches - Wiper and Washer Systems
Windshield Washer Switch / Component Information
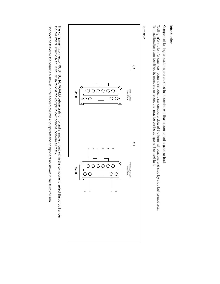
Testing and Inspection
Multifunction Switch, Wiper/Washer Portion - Front
Page 1
Windshield Washer Switch: Testing and Inspection
Multifunction Switch, Wiper/Washer Portion - Front
Sensors and Switches
Sensors and Switches - Wiper and Washer Systems
Windshield Washer Switch / Component Information
Testing and Inspection
Multifunction Switch, Wiper/Washer Portion - Front
Multifunction Switch, Wiper/Washer Portion - Front|Page 1243 >
< Windshield Washer Switch|Locations|Page 1240