Ford Workshop Service and Repair Manuals
HOME
FEATURES
MENU
INDEX
ABOUT US
Multifunction Switch, Wiper/Washer Portion - Front|Page 8246 >
< Wiper Switch|Locations|Page 8243
Taurus X AWD V6-3.5L (2009)
Wiper and Washer Systems
Wiper Switch / Component Information
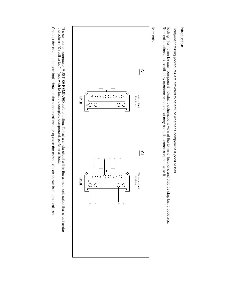
Testing and Inspection
Multifunction Switch, Wiper/Washer Portion - Front
Page 1
Wiper Switch: Testing and Inspection
Multifunction Switch, Wiper/Washer Portion - Front
Wiper and Washer Systems
Wiper Switch / Component Information
Testing and Inspection
Multifunction Switch, Wiper/Washer Portion - Front
Multifunction Switch, Wiper/Washer Portion - Front|Page 8246 >
< Wiper Switch|Locations|Page 8243