ford Workshop Repair Guides

Ford Workshop Service and Repair Manuals

303-01B Engine - 2.0L Duratorq-Di (Puma) Diesel-2.0L Duratorq-TDCi (Puma) Diesel-2.0L Duratorq-TDDi (Puma) Diesel > < Assembly|Engine
Engine - 2.4L Duratorq-Di (Puma) Diesel/2.4L Duratorq-TDCi (Puma) Diesel - Engine—Vehicles With: Exhaust Gas Recirculation (EGR) Transit 2000.5 (01/2000-05/2006)
Installation

Special Tool(s)

Remover/Installer, Cooling Hose Clamp

303-397 (24-003)

Spacer, Subframe

204-606

General Equipment
Engine hoist
Transmission jack
Trolley jack
Axle stands
Materials
Name
Specification
Grease
WSD-M1C238-A 

Installation

All vehicles
  1. WARNING:
    WARNING:Do not smoke or carry lighted tobacco or open flame of any type when working on or near any fuel related components. Highly flammable mixtures are always present and may ignite. Failure to follow these instructions may result in personal injury.
    Check the pilot bearing for damage. Install a new pilot bearing as necessary.
    For additional information, refer to: Pilot Bearing (308-01A Clutch - Vehicles With: MT-75, Removal and Installation).
  1. CAUTION:
    CAUTION:Do not apply grease to a newly installed pilot bearing.
    Apply approximately one gram of grease to the used pilot bearing.
  1. CAUTION:
    CAUTION:Do not tilt the transmission during installation. This may cause damage to the pilot bearing.
    Install the transmission to the engine.

  1. Install the transmission left-hand retaining bolts.

  1. Install the transmission right-hand retaining bolts.
  1. Using a suitable engine hoist, with the aid of another technician, lower the engine and transmission assembly under the towing eye and push the engine hoist with the engine and transmission assembly into the engine compartment.
  1. Lower the engine hoist and support the engine crossmember and transmission on suitable axle stands.

  1. Using a suitable trolley jack under the engine crossmember, raise the engine.

  1. Install the engine crossmember retaining bolts.

  1. WARNING:
    WARNING:Make sure the engine rear lifting eye is removed as it may come into contact with the brake pipe. Failure to follow this instruction may result in personal injury.
    Remove the engine rear lifting eye (if equipped).
    • Store the engine lifting eye in the workshop for future use.

  1. Install the generator.
Vehicles with 75 PS, 90 PS, 115 PS, 120 PS or 125 PS diesel engine

  1. Install the engine crossmember.

  1. Install the vibration damper to the engine crossmember.
Vehicles with 135 PS diesel engine

  1. CAUTION:
    CAUTION:Tighten the engine mount retaining nut by hand. Failure to follow this instrcution may result in damage to the thread.
    Install the engine mount retaining nut, tighten the retaining nut in two stages:
    • Stage 1: Finger tight.
    • Stage 2: 80 Nm.
Vehicles with auxiliary heating

  1. Connect the auxiliary heater hoses.
All vehicles

  1. Connect the vacuum hose to the brake booster.

  1. Connect the engine ground cable to the side member.

  1. Connect the coolant hoses and the vacuum hoses to the heater core.

  1. Connect the fuel supply and return lines to the fuel filter.

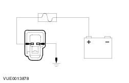
  1. Connect the battery to starter motor solenoid cable and the generator cable to the jump start point.

  1. Install the jump start point cover.

  1. Connect the engine wiring harness electrical connector.

  1. Connect the coolant hose to the water pump.

  1. Attach the power steering pump to the engine (four bolts).

  1. Connect the air cleaner outlet pipe to the turbocharger.
  1. Raise and support the vehicle.
    For additional information, refer to: Lifting (100-02 Jacking and Lifting, Description and Operation).

  1. Using a suitable transmission jack and wooden blocks support the front axle.

  1. Remove the special tool.

  1. Tighten the front axle retaining bolts.

  1. Install the transmission support insulator to front axle crossmember bolts.
  1. Remove the transmission jack.
Vehicles with tachograph

  1. Connect the tachograph sensor electrical connector
Vehicles built up to 10/2001

  1. NOTE:
    NOTE:Align the mark on the driveshaft flange with the mark on the transmission output shaft flange.
    NOTE:
    NOTE:Use new driveshaft to transmission output shaft flange bolts.
    Attach the driveshaft to the transmission output shaft flange.
Vehicles built 10/2001 onwards

  1. NOTE:
    NOTE:Align the mark on the driveshaft flange with the mark on the transmission output shaft flange.
    NOTE:
    NOTE:Use new driveshaft to transmission output shaft flange bolts.
    Attach the driveshaft to the transmission output shaft flange.
Vehicles with 135 PS diesel engine

  1. NOTE:
    NOTE:Align the mark on the driveshaft flange with the mark on the transmission output shaft flange.
    NOTE:
    NOTE:Use new driveshaft to transmission output shaft flange bolts.
    Attach the driveshaft to the transmission output shaft flange bolts.
All vehicles
  1. Install the exhaust.

  1. Connect the reversing lamp switch and the vehicle speed sensor (VSS) electrical connectors.

  1. NOTE:
    NOTE:Make sure that the clutch slave cylinder actuating rod correctly engages with the clutch release lever.
    Attach the clutch slave cylinder to the transmission.

  1. Install the radiator and the radiator support bracket (four bolts).

  1. Connect the horn electrical connector.
4.25 tonne single chassis cab

  1. Install the front bumper under-run.
Vehicles with air conditioning

  1. NOTE:
    NOTE:Only install M8 X 107 mm retaining bolts.
    Attach the air conditioning (A/C) compressor to the mounting bracket.

  1. Connect the A/C compressor clutch electrical connector.
All vehicles
  1. Lower the vehicle.
Vehicles with exhaust gas recirculation (EGR)

  1. Connect the charge air cooler outlet pipe to the EGR valve.
Vehicles without EGR

  1. Connect the charge air cooler outlet pipe to the intake manifold tube.
All vehicles

  1. Connect the charge air cooler intake pipe to the turbocharger.
Vehicles with EGR

  1. Connect the EGR vacuum regulator solenoid electrical connector.

  1. Connect the EGR vacuum regulator solenoid vacuum lines.
Vehicles with air conditioning

  1. Connect the cooling fan motor electrical connector.
All vehicles

  1. Using the special tool, connect the coolant expansion tank hose and the radiator lower hose.

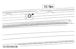
  1. Install the radiator support bracket lower bolt.

  1. Using the special tool, connect the coolant hoses to the thermostat housing.

  1. Install the water drain panel.

  1. Install the hood (four bolts).

  1. Install the windshield wiper motor bracket retaining bolt.

  1. Install the A-pillar exterior trim panel lower retaining screws.

  1. Install the water drain pipe retaining clips.

  1. NOTE:
    NOTE:The windshield washer hose is routed through the cowl panel.
    Install the cowl panel.
    1. Attach the clips.
    1. Attach the windshield washer hose.
    1. Install the lower retaining screws.

  1. Install the cowl panel upper retaining screws.
    • Install the screw covers.

  1. Install the windshield wiper arms.

  1. Install the stub lever.

  1. NOTE:
    NOTE:The rough surface of the insulation pad must face upwards.
    Install the gearshift linkage insulation pad.

  1. Install the gearshift lever.
    1. Install the insulator.
    1. Install gearshift lever until the plunger locks.
    1. Install the boot.
  1. Install the catalytic converter.
    For additional information, refer to: Catalytic Converter - 2.0L Duratorq-Di (Puma) Diesel/2.0L Duratorq-TDCi (Puma) Diesel/2.0L Duratorq-TDDi (Puma) Diesel/2.4L Duratorq-Di (Puma) Diesel/2.4L Duratorq-TDCi (Puma) Diesel (309-00 Exhaust System, Removal and Installation).
  1. Install the radiator grille opening panel.
    For additional information, refer to: Radiator Grille Opening Panel (501-02 Front End Body Panels, Removal and Installation).
  1. Install the accessory drive belt.
    For additional information, refer to: Accessory Drive Belt - 2.4L Duratorq-Di (Puma) Diesel (303-05 Accessory Drive, Removal and Installation) /
    Accessory Drive Belt - 2.4L Duratorq-TDCi (Puma) Diesel (303-05 Accessory Drive, Removal and Installation).
  1. Fill and bleed the cooling system.
    For additional information, refer to: Cooling System Draining, Filling and Bleeding (303-03 Engine Cooling, General Procedures).
  1. Remove the crankshaft position (CKP) sensor.
    For additional information, refer to: Crankshaft Position (CKP) Sensor - 2.4L Duratorq-Di (Puma) Diesel/2.4L Duratorq-TDCi (Puma) Diesel (303-14 Electronic Engine Controls, Removal and Installation).

  1. CAUTION:
    CAUTION:Do not turn the engine when the special tool is fully located into the flywheel. Failure to follow this instruction will cause damage to the CKP sensor hole.
    NOTE:
    NOTE:Only turn the engine in the normal direction of rotation.
    Turn the engine to 50 degrees before top dead center (TDC) and insert the special tool through the CKP sensor hole.
  1. Using a suitable paint, mark the position of the crankshaft pulley in relation to the engine front cover.

  1. Remove the special tool from the CKP sensor hole.
  1. Install the CKP sensor.
    For additional information, refer to: Crankshaft Position (CKP) Sensor - 2.4L Duratorq-Di (Puma) Diesel/2.4L Duratorq-TDCi (Puma) Diesel (303-14 Electronic Engine Controls, Removal and Installation).
  1. Connect the battery ground cable.
    For additional information, refer to: Battery Disconnect and Connect (414-01 Battery, Mounting and Cables, General Procedures).
  1. Check the engine is still at 50 degrees before TDC by checking the paint marks on the crankshaft pulley and the engine front cover.

  1. Disconnect the fuel injection pump to fuel filter return line from the fuel filter.
    For additional information, refer to: Quick Release Coupling (310-00A Fuel System - General Information, General Procedures).

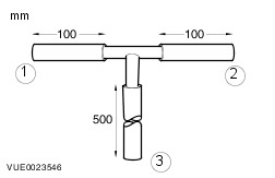
  1. Using a suitable clear plastic tube and connectors, manufacture and install a bleed tube as shown.
    1. Connect the bleed tube to the return line from the fuel injection pump.
    1. Connect the bleed tube to the fuel filter.
    1. Place the bleed tube into a suitable container.
Vehicles with 120 PS diesel engine
  1. Disconnect the fuel lift pump electrical connector.

  1. Using a 15A fused jumper wire, supply battery voltage and a good ground to the fuel lift pump electrical connector, to energize the fuel lift pump.
Vehicles with 75 PS or 90 PS diesel engine
  1. NOTE:
    NOTE:The fuel hand primer pump is located on top of the fuel filter.
    Operate the fuel hand primer pump and inspect the bleed tube for signs of air.
All vehicles
  1. When air-free fuel is being displaced into the container remove the bleed tube.

  1. Install a clear plastic tube as shown.
    1. Connect the clear plastic tube to the return line from the fuel injection pump.
    1. Connect the clear plastic tube to the fuel filter.
  1. NOTE:
    NOTE:If a new fuel injection pump has been installed and difficulties occur getting fuel through the high-pressure system, it must be configured to the PCM using WDS before the high-pressure fuel supply lines can be bled.
    Make sure the engine is still at 50 degrees before TDC by checking the paint marks.
Vehicles with 120 PS diesel engine

  1. Using a 15A fused jumper wire, supply battery voltage and a good ground to the fuel lift pump electrical connector, to energize the fuel lift pump.

  1. NOTE:
    NOTE:Only one high-pressure fuel supply line will show signs of fuel escaping.
    Visually inspect the high-pressure fuel supply lines and tighten the high-pressure fuel supply line union which shows signs of fuel escaping.
Vehicles with 75 PS or 90 PS diesel engine

  1. NOTE:
    NOTE:Only one high-pressure fuel supply line will show signs of fuel escaping.
    Operate the fuel hand primer pump (located on top of the fuel filter) and tighten the high-pressure fuel supply line union which shows signs of fuel escaping.
All vehicles
  1. NOTE:
    NOTE:Only turn the engine in the normal direction of rotation.
    Using the paint mark as a reference, slowly turn the engine through 180 degrees.
Vehicles with 120 PS diesel engine
  1. Repeat the steps 63 and 65 to bleed each of the three remaining high-pressure fuel supply lines.
Vehicles with 75 PS or 90 PS diesel engine
  1. Repeat the steps 64 and 65 to bleed each of the three remaining high-pressure fuel supply lines.
All vehicles

  1. NOTE:
    NOTE:Make sure the two halves of the high-pressure fuel supply line support bracket are just loose enough to slide relative to each other.
    NOTE:
    NOTE:Do not tighten the high-pressure fuel supply line support bracket to high pressure fuel supply line nuts at this stage.
    Install the high-pressure fuel supply line support bracket to the high pressure fuel supply lines.

  1. NOTE:
    NOTE:Do not tighten the high-pressure fuel supply line support bracket to cylinder head bolt at this stage.
    Install the high-pressure fuel supply line support bracket to cylinder head bolt.

  1. Tighten the high-pressure fuel supply line support bracket to high pressure fuel supply line retaining nuts.

  1. Tighten the high-pressure fuel supply line support bracket to cylinder head bolt.

  1. Tighten the two halves of the high-pressure fuel supply line support bracket.
Vehicles with 120 PS diesel engine
  1. Remove the jumper wire and connect the fuel lift pump electrical connector.
All vehicles
  1. Start the engine and gently raise the engine speed to 1000 rpm for approximately 2 to 3 minutes until no air is visible in the clear plastic pipe.
  1. Switch the engine off.
  1. Remove the clear plastic tube.

  1. Connect the fuel injection pump to fuel filter fuel return line to the fuel filter.

  1. Connect the fuel injection pump to fuel filter fuel return line to the fuel filter.

303-01B Engine - 2.0L Duratorq-Di (Puma) Diesel-2.0L Duratorq-TDCi (Puma) Diesel-2.0L Duratorq-TDDi (Puma) Diesel > < Assembly|Engine