Sonata V6-3.3L (2006)
Variable Valve Timing Actuator: Testing and Inspection
CVVT OIL CONTROL VALVE (OCV)
DESCRIPTION
Continuously Variable Valve Timing (CVVT system controls valve overlap with forcibly activating the camshaft and adjusts EGR (Exhaust Gas
Recirculation) amount. It decreases exhaust gas (NOx, HC) and improves fuel economy, idle state, torque in low speed and power in high speed. This
system uses engine oil pressure and consists of the two CVVT Oil Control Valve (OCV) in each bank which supplies oil to cam phaser according to
PWM (Pulse With Modulator) signal of the PCM, a CVVT Oil Temperature Sensor (OTS) which detects the oil temperature and a cam phaser which is
installed on the end of the camshaft and converts camshaft phase. The oil getting out of the CVVT oil control valve flows into the cam phaser and rotates
the rotor inside cam phaser. At this time, the camshaft rotates with the rotor and the cam phase is changed.
1. When camshaft rotates engine rotation-wise: Intake Advance / Exhaust-Retard
2. When camshaft rotates counter engine rotation-wise: Intake- Retard / Exhaust- Advance
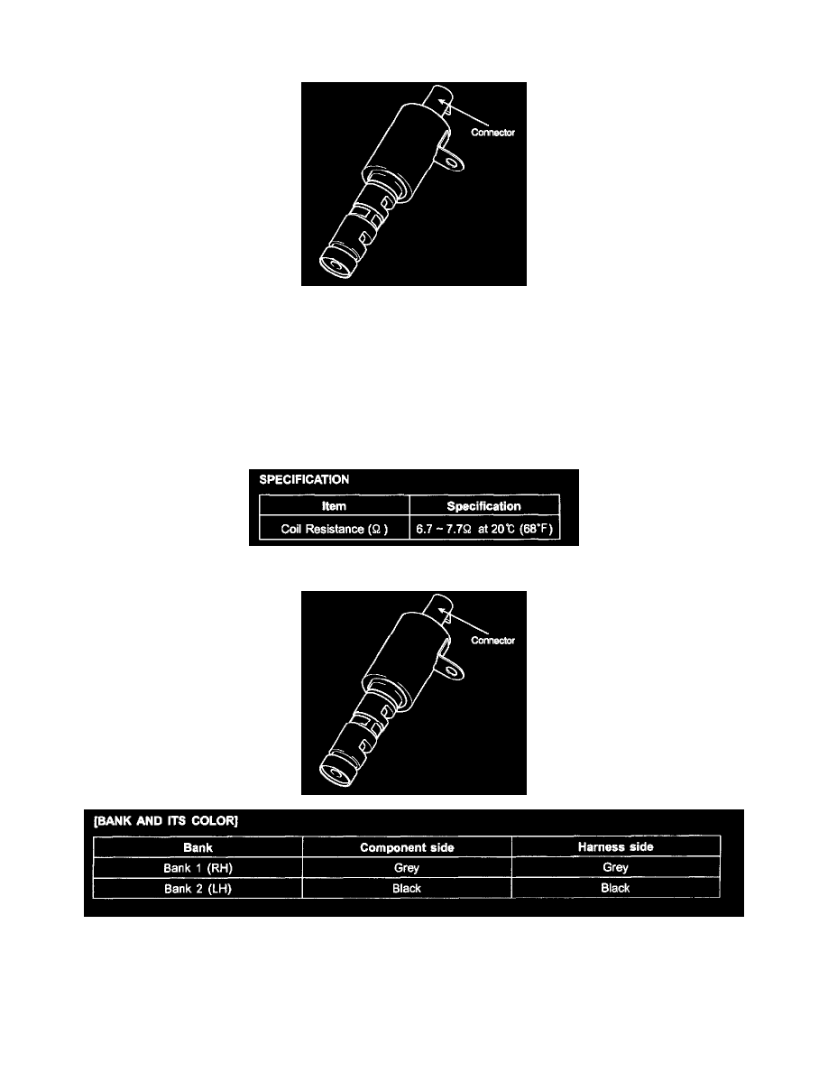
Specification
INSTALLATION
CAUTION: If the OCVs are installed incorrectly, the vehicle may be damaged.
So when installing them, be careful its connector color (Components and harness side).
