Compass 4WD L4-2.4L VIN W (2007)
Cabin Air Filter: Description and Operation
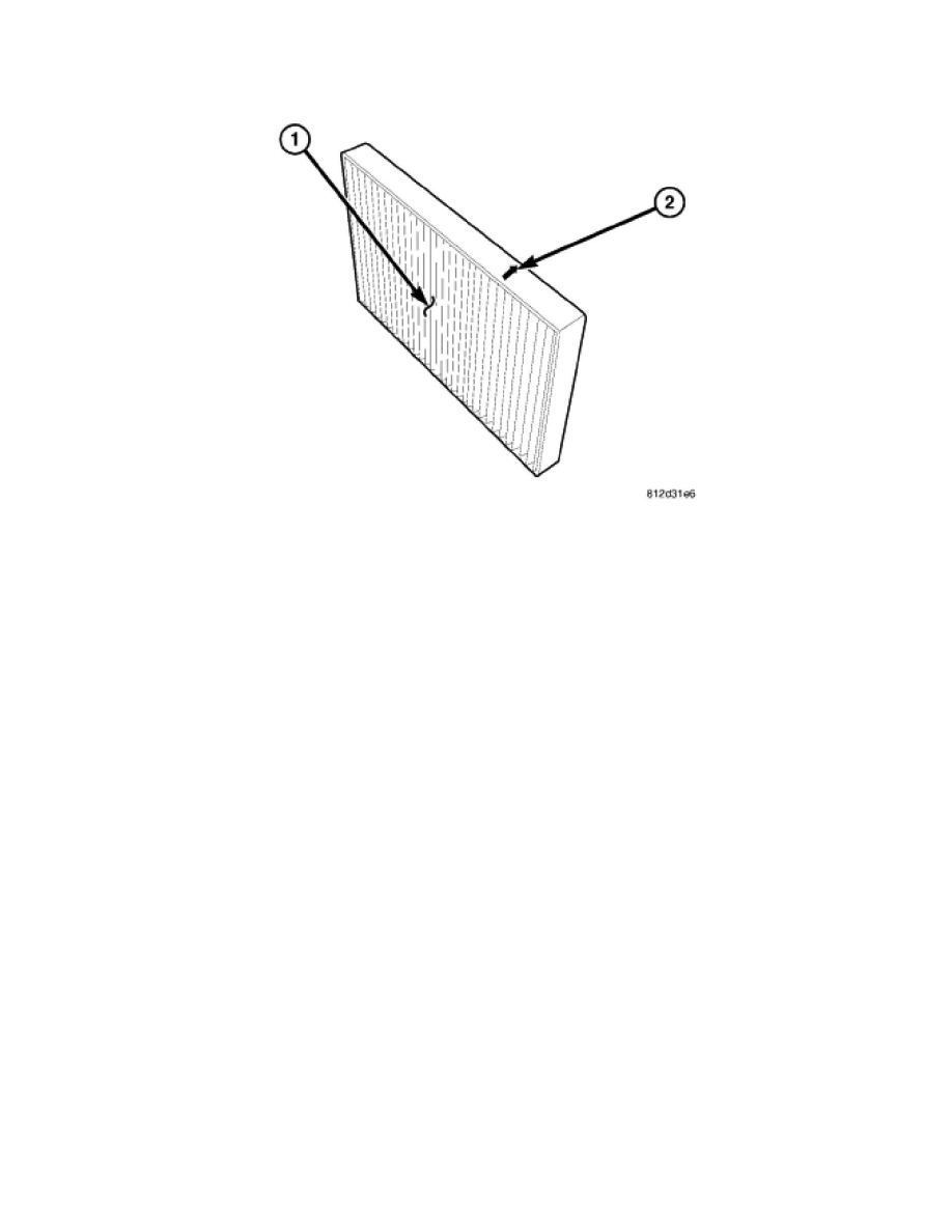
DESCRIPTION
Some models are equipped with a particulate air filter (1) that helps purify the outside air entering the HVAC housing. The filter is mounted in the
passenger compartment, behind the glove box bin.
The filter should be replaced at least once a year or every 24,000 km (15,000 miles) and checked if heating-A/C system performance seems lower than
expected. The particulate air filter is labeled with an arrow (2) to indicate the direction of air flow through the filter.
