Patriot 4WD L4-2.0L (2008)
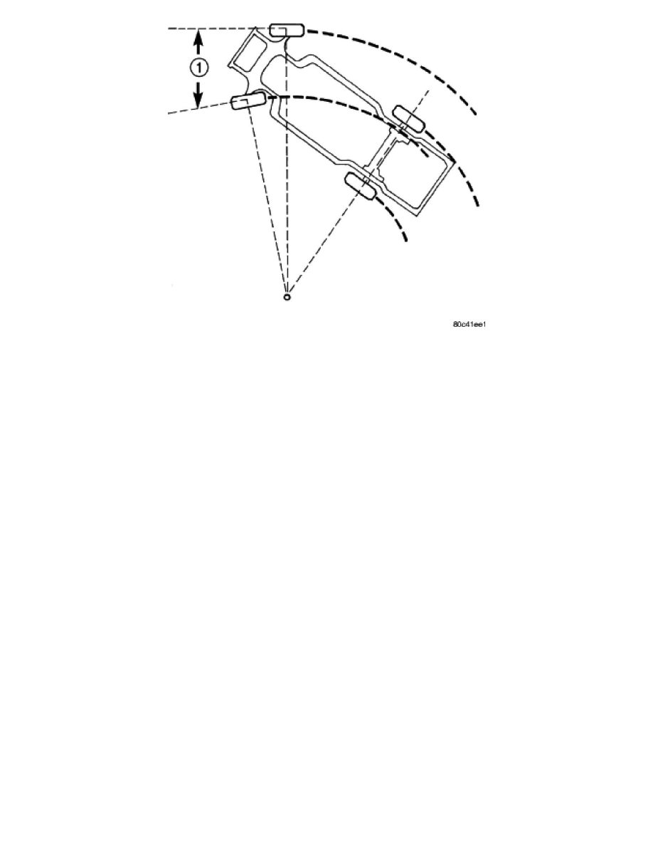
Toe-out on turns (1), sometimes referred to as Ackerman Steering, is the relative positioning of the front wheels while steering through a turn. This
compensates for each front wheel's turning radius. As the vehicle encounters a turn, the outboard wheel must travel in a larger radius circle than the
inboard wheel. The steering system is designed to make each wheel follow its particular radius circle. To accomplish this, the front wheels must
progressively toe outward as the steering is turned from center. This eliminates tire scrubbing and undue tire wear when steering a vehicle through a turn.
DYNAMIC TOE PATTERN
Dynamic toe pattern is the inward and outward toe movement of the front and rear tires through the suspension's jounce and rebound travel. As the
vehicle's suspension moves up and down, the toe pattern varies. Toe pattern is critical in controlling the directional stability of the vehicle while in
motion. Front and rear dynamic toe pattern is preset by the factory at the time the vehicle is assembled.
It is not necessary to check or adjust front or rear dynamic toe pattern when doing a normal wheel alignment. The only time dynamic toe pattern needs to
be checked or adjusted is if the frame of the vehicle has been damaged.
STEERING AXIS INCLINATION (S.A.I.)
