lincoln Workshop Repair Guides

Lincoln Workshop Service and Repair Manuals

Electrical - Wiring Soldering/Crimping Service Tips|Page 6413 > < Electrical - Wiring Soldering/Crimping Service Tips|Page 6411
Page 8
background image

NOTE

THE STRIP LENGTH WILL VARY DEPENDING ON THE BUTT SPLICE AND WIRE IN HARNESS. LONGER STRIP LENGTHS ARE
REQUIRED WHEN THE WIRE NEEDS TO BE FOLDED TO MATE WITH THE BUTT SPLICE. REFER TO FIGURE 10 CHART FOR STRIP
LENGTHS AND FOLDING TECHNIQUES.

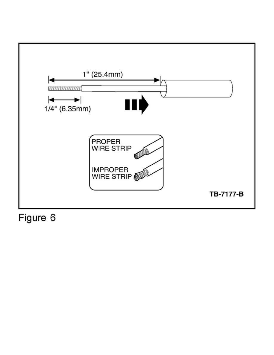
2.

Slide heat shrink tubing onto one (1) of the wire ends to be crimped, must be at least 1" (25.4 mm) away from stripped end (Figure 6).

Electrical - Wiring Soldering/Crimping Service Tips|Page 6413 > < Electrical - Wiring Soldering/Crimping Service Tips|Page 6411